蒸汽压缩机结构图

一种低温升mvr蒸汽压缩机
图片尺寸558x503
蒸汽压缩机
图片尺寸566x639
压缩机的构造简介
图片尺寸640x331
离心式制冷剂蒸气压缩机
图片尺寸1743x2115
艺手精工:压缩机分类及原理
图片尺寸1192x924
日立r410a压缩机结构介绍ppt
图片尺寸1080x810
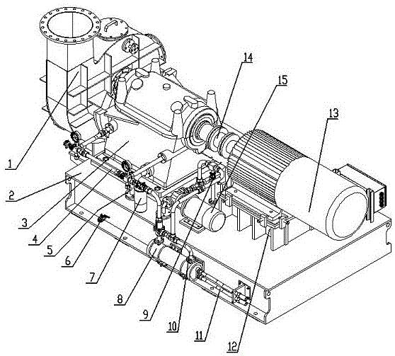
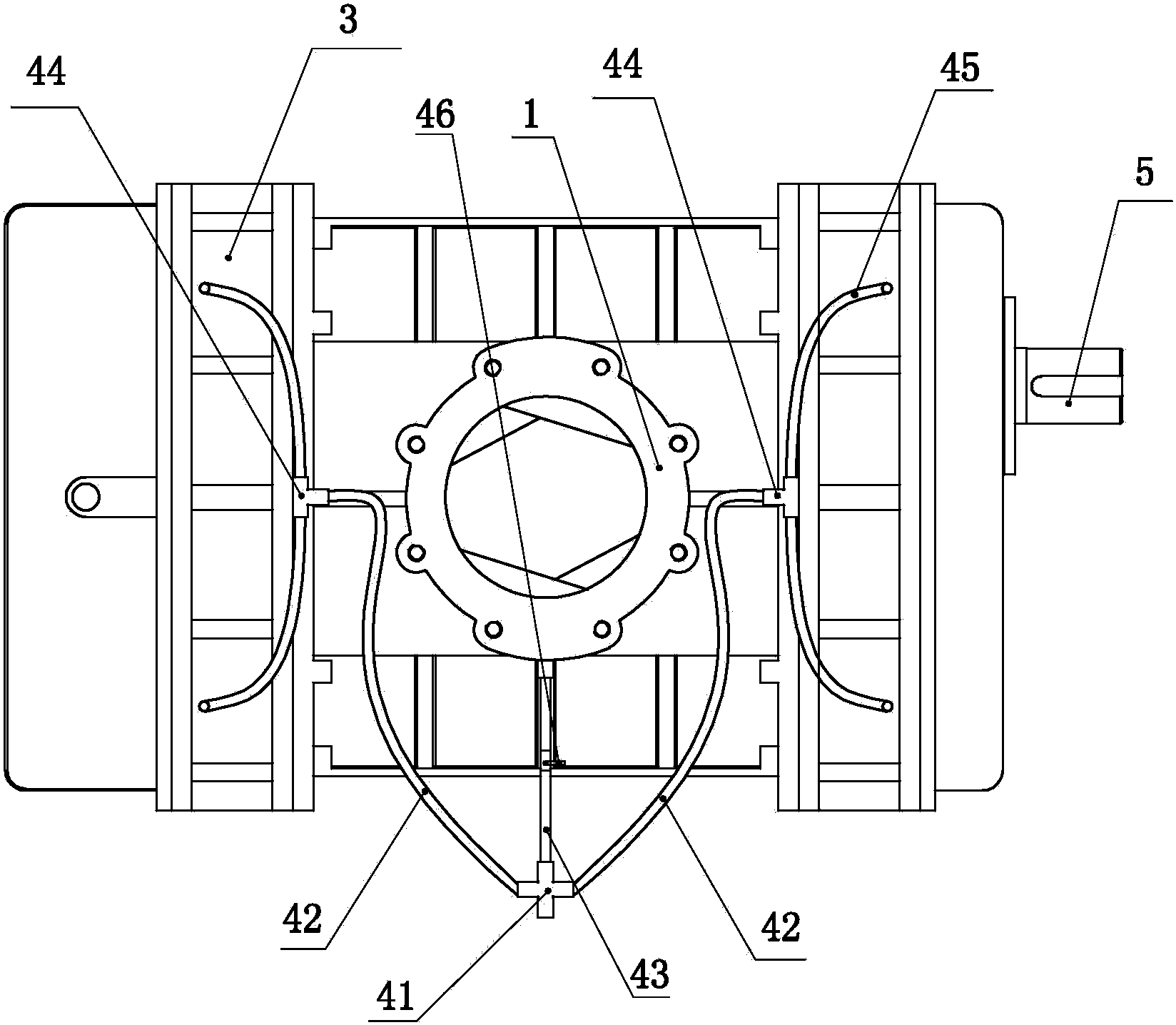
一种蒸汽压缩机整体结构布置的制作方法
图片尺寸1000x617
mvr罗茨蒸汽压缩机-mvr系统工程-宜兴富曦机械有限公司
图片尺寸578x725
cn104405641b_一种罗茨式蒸汽压缩机有效
图片尺寸1648x1436
压缩机的种类介绍
图片尺寸793x581
一种低温升mvr蒸汽压缩机的制作方法
图片尺寸558x503
一种用于机械式蒸汽再压缩的单轴多级离心压缩机-爱企查
图片尺寸1803x1382
一种不同不锈钢材质配合的罗茨蒸汽压缩机
图片尺寸643x445
压缩机
图片尺寸1852x2333
全面了解mvr蒸发器原理,处理工艺及应用_蒸汽_物料_压缩机
图片尺寸890x681
mvr蒸汽压缩机的工作原理(配图)华东风机
图片尺寸560x554
压缩机工作原理及结构
图片尺寸893x502
离心式蒸汽压缩机一台多少钱优质商家"本信息长期有效"
图片尺寸600x624
ykr2r2k45单级离心压缩机维修ykq8q3k35d氨离心式制冷压缩机维修
图片尺寸892x656
低压氟利昂蒸汽首先进入电动机的机壳内,然后再进入压缩机的吸气腔
图片尺寸666x442