蓄能器图纸

一种新型对冲式分层布水蓄热罐,罐体内上部设有降压缓冲器,降压缓冲器
图片尺寸1565x2182
贺德克sb系列皮囊式蓄能器
图片尺寸382x547
3l皮囊式蓄能器
图片尺寸1472x1920
一种球形隔膜式蓄能器
图片尺寸1372x1797
蒸汽蓄热器
图片尺寸820x416
nxq系列蓄能器
图片尺寸800x546
【cad图纸】柴油储罐
图片尺寸1311x927
cn102428283a_液压蓄能器在审
图片尺寸1627x1928
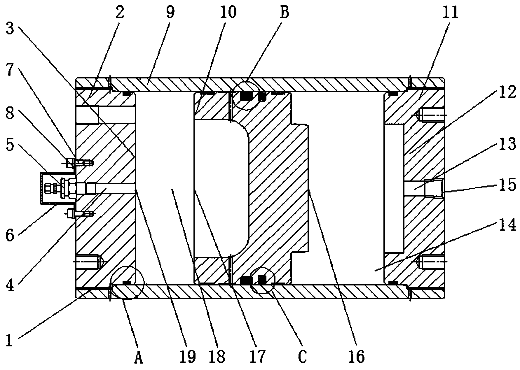
一种润滑油站用囊式蓄能器的制作方法
图片尺寸978x1000
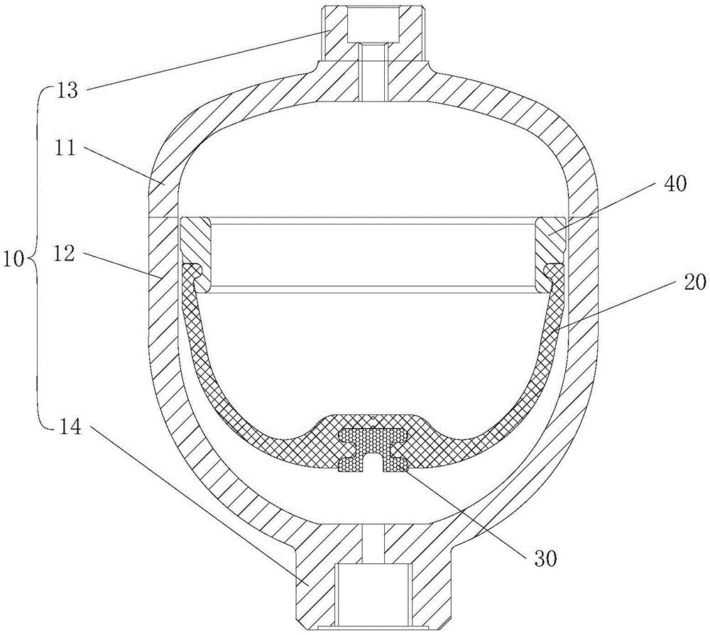
一种隔膜蓄能器的制作方法
图片尺寸726x1000
皮囊式蓄能器讲稿
图片尺寸920x1302
加装蓄能器可以极大提高大型调相机润滑油系统的运行稳定性
图片尺寸1080x751
准确控氮气预充压力及蓄能器排油量的蓄能器系统
图片尺寸1764x2391
cn209278227u_一种高防腐隔膜蓄能器有效
图片尺寸1000x894
蓄能器外形图.dwg下载(109.98 kb,dwg格式) 机械cad图纸
图片尺寸1200x846
一种活塞式蓄能器
图片尺寸1662x903
蓄能器
图片尺寸700x499
低温活塞式蓄能器
图片尺寸1782x1269
贺德克蓄能器焊接式和螺纹式
图片尺寸845x592
流量放大型活塞式蓄能器的制作方法
图片尺寸498x1000