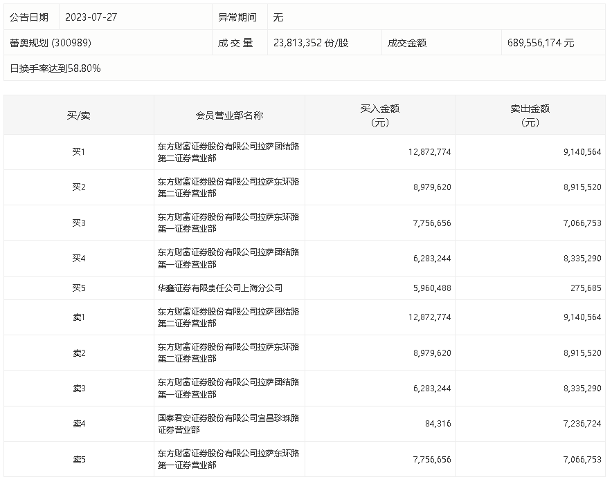
蕾奥规划龙虎榜

龙虎榜|蕾奥规划今日涨12.38%,"拉萨天团"占8席
图片尺寸1659x590
蕾奥规划7月25日龙虎榜数据
图片尺寸659x364
蕾奥规划
图片尺寸640x640
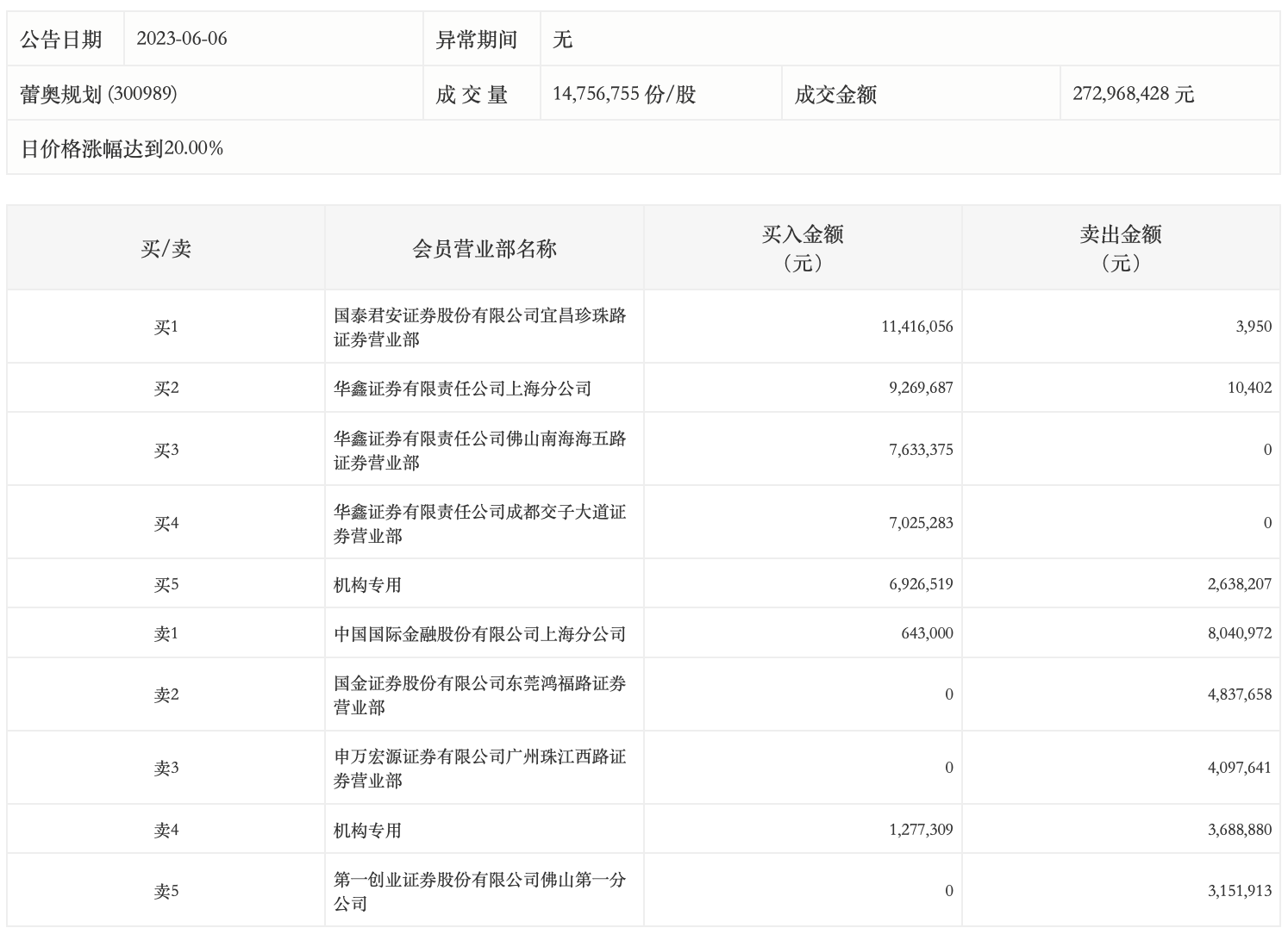
龙虎榜丨蕾奥规划今日跌12.37%,"拉萨天团"占8席
图片尺寸884x703![[分享] 发帖纪念下第一个6000分](https://i.ecywang.com/upload/1/img0.baidu.com/it/u=2115050582,870666195&fm=253&fmt=auto&app=138&f=PNG?w=883&h=500)
[分享] 发帖纪念下第一个6000分
图片尺寸1330x753
4月1日蕾奥规划300989龙虎榜数据游资北京中关村方新侠宁波桑田路上榜
图片尺寸703x274
蕾奥规划新股发行网上路演
图片尺寸1920x1080
蕾奥规划龙虎榜:营业部净买入3123.87万元
图片尺寸659x364
龙虎榜丨蕾奥规划今日涨停,机构合计净买入187.67万元
图片尺寸1494x1084
蕾奥规划创业板上市开盘涨超65报8562元
图片尺寸638x541
龙虎榜|蕾奥规划今日涨停,知名游资炒股养家买入709.48万元
图片尺寸1196x494
讨论吐槽我的天这签运首战瑞典
图片尺寸1340x850
珠海市香炉湾野狸岛滨海环境整治提升规划 - 深圳市蕾奥规划设计咨询
图片尺寸2522x1361
梅西职业生涯身价走势(身价暴跌!
图片尺寸1169x1456
南京江宁胜太路以北地区城市设计 - 深圳市蕾奥规划设计咨询股份有限
图片尺寸2260x2210
销售龙虎榜
图片尺寸1271x774
47%,蕾奥规划领涨,主力资金净流出2.45亿元_数据_整理_内容
图片尺寸700x390
47%,蕾奥规划领涨,主力资金净流出2.45亿元_数据_整理_内容
图片尺寸700x390
蕾奥规划龙虎榜数据(3月10日)
图片尺寸645x364
研究报告|蕾奥产城:2023年粤港澳大湾区产业年报 - 深圳市蕾奥规划
图片尺寸676x930