虎钳结构图

无忧文档 所有分类 虎钳子装配图示例 第1页 (共1
图片尺寸1592x1163
治具系统 lock-tight fa精密虎钳 3,底座与固定台身采用一体式结构,可
图片尺寸506x437
求机用虎钳装配示意图
图片尺寸696x514
钳工台虎钳有什么构件!
图片尺寸1088x862
这么多虎钳 总有一款适合你吧#自定心虎钳 #零点定位 #多工 - 抖音
图片尺寸1175x791
一,产品名称 台虎钳 二,结构分析及产品工作原理 台虎钳,是一种装
图片尺寸764x826
关于如图所示机用虎钳装配图描述错误的是
图片尺寸890x624
sm6台虎钳6寸150mm虎钳钳子
图片尺寸1100x1100
台虎钳的最终装配图doc5页
图片尺寸792x1120
读台虎钳装配图回答问题
图片尺寸1198x841
两者的主要结构和工作原理基本相同,其不同点是回转式台虎钳比固定式
图片尺寸470x286
毕业论文----台式虎钳的三维实体设计及运动仿真.docx
图片尺寸610x490
虎钳的装配
图片尺寸641x327
直立式虎钳结构
图片尺寸2579x1803
机用虎钳的装配图和分解图
图片尺寸972x607
读机用虎钳
图片尺寸961x678
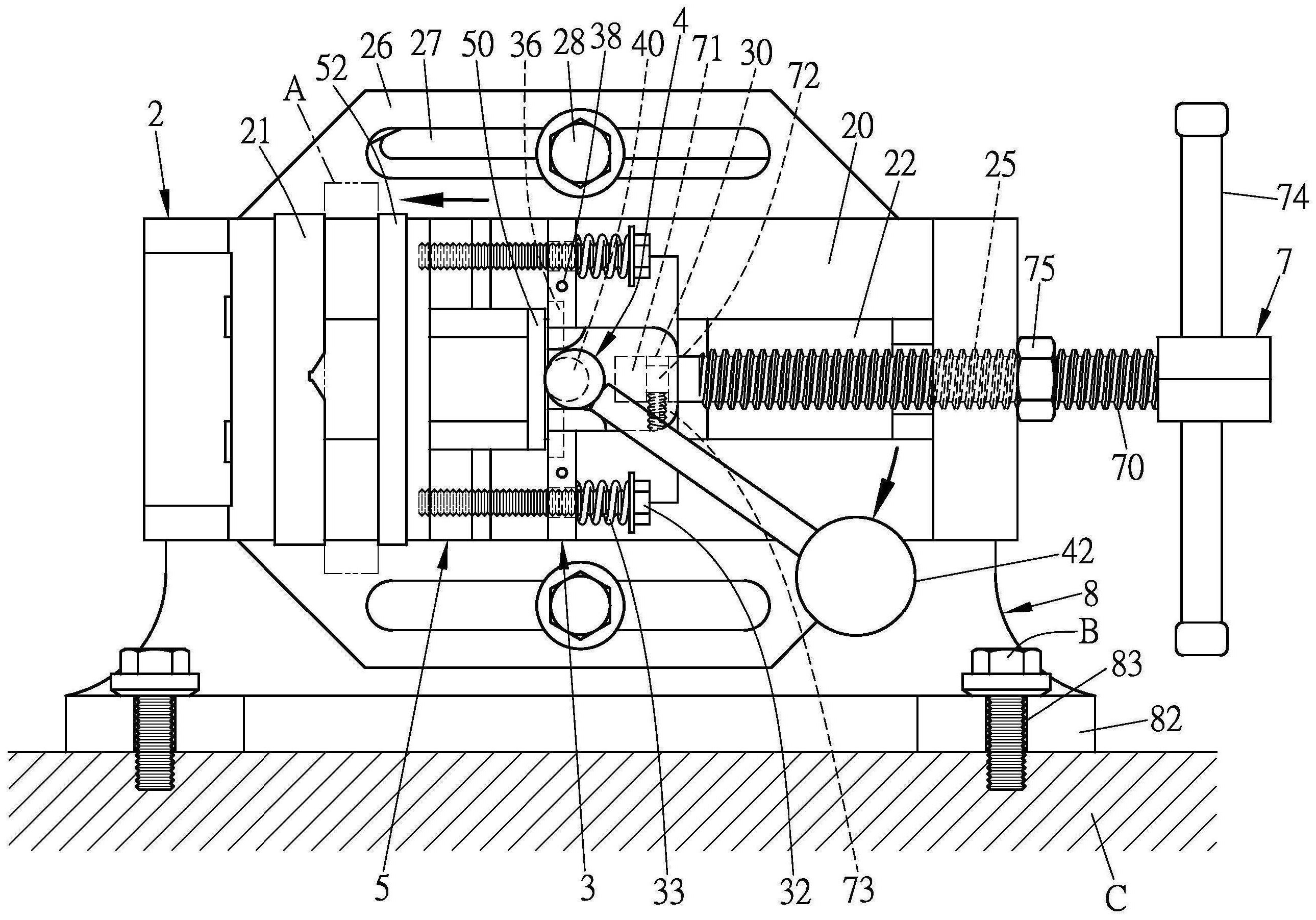
快夹台虎钳的设计与应用(1) 图1所示为凸轮自锁快夹台钳的剖面结构
图片尺寸1023x917
台虎钳的结构是由钳体,底座,导螺母,丝杠,钳口体等组成.
图片尺寸748x373
机械制图技能实训(六)机用虎钳
图片尺寸547x372
一种接杆式精密虎钳的制作方法
图片尺寸518x412