蚯蚓机的工作原理图

s6问题科普贴
图片尺寸506x489
适中的电压以及比较小的电流,下图为电蚯蚓机原理图,看起来并不是十分
图片尺寸2533x1125
诚招代理 电捕蚯蚓机超声波地龙仪诱捕器35厘米不锈钢地针
图片尺寸672x244
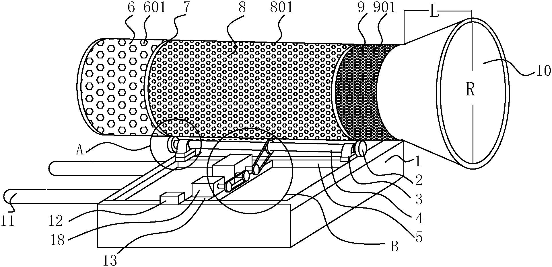
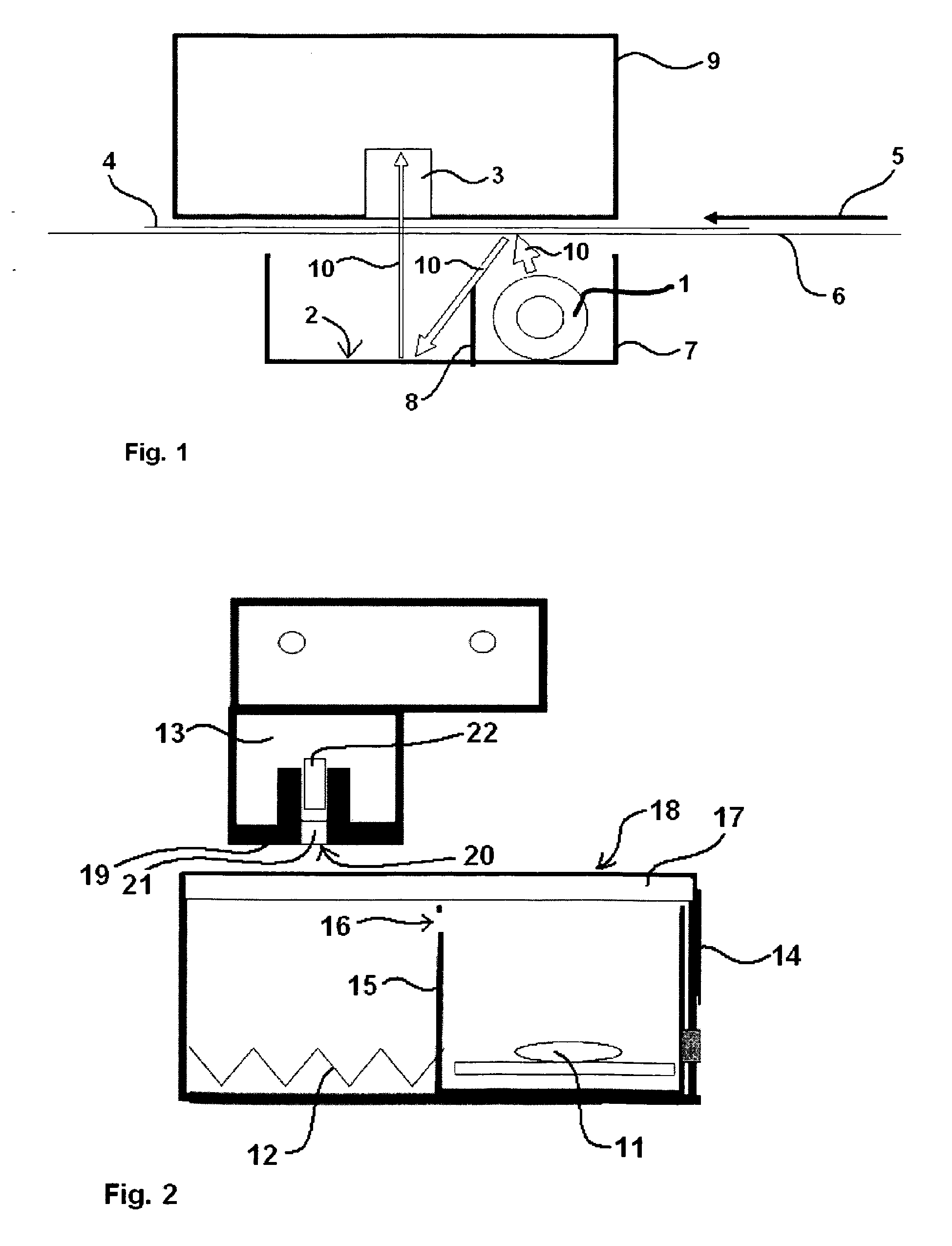
一种蚯蚓养殖系统的制作方法
图片尺寸1000x612
蚯蚓机地龙仪主板电路板成套配件散件diy带反接保护
图片尺寸1523x835
电击捉蚯蚓,一年上万吨?地下产业链背后隐藏着严重土壤生态危机
图片尺寸1198x822
08 _ 08 图片_百度百科
图片尺寸758x410
flotation machine - products - 江西金石宝矿山机械制造有限公司
图片尺寸600x367
专利
图片尺寸2080x2695
将生活污泥改善成种植营养土的方法
图片尺寸2895x1542
丰保田9yf2200s捡拾打捆机
图片尺寸974x505
一种联合作业播种机
图片尺寸1790x1162
cn2450862y_一种脚踏式脱谷机失效
图片尺寸2000x1421
cn108935344a_一种葡萄园中养殖蚯蚓的方法以及蚯蚓分离装置在审
图片尺寸1924x932
谷物条播机示意图
图片尺寸770x739
介绍该机具的总体结构,工作原理及关键部件设计,并检测其作业质量
图片尺寸936x910
method and device for the operation of a hydraulic vehicle
图片尺寸3094x1946
马铃薯收获机
图片尺寸1080x810
cn102770013a_连续圆形打捆机失效
图片尺寸1000x830
专利
图片尺寸1949x2551