蛇形冷凝管手绘

蛇形冷凝管 | 一站式实验室用品采购服务平台 - 晚晴商城
图片尺寸500x815
蛇形冷凝管化学器皿
图片尺寸439x220
蛇形冷凝器结构,承担介质进出任务的玻璃小咀110和120需要和橡胶管
图片尺寸896x1000
化学蛇形冷凝管插画
图片尺寸260x391
美丽化学021玻璃器皿冷凝管
图片尺寸640x349
200-1000mm 球形冷凝管(直形冷凝管,蛇形冷凝管,冷却管,回流冷凝管
图片尺寸216x310
高效回流冷凝管-爱企查
图片尺寸1586x2271
蛇形管换热器制造技术
图片尺寸1000x449
蛇形冷凝管用于实验分析.
图片尺寸425x546
蛇形冷凝管 用于有机制备的回流,适用于沸点较低的液体,做垂直式的
图片尺寸291x469
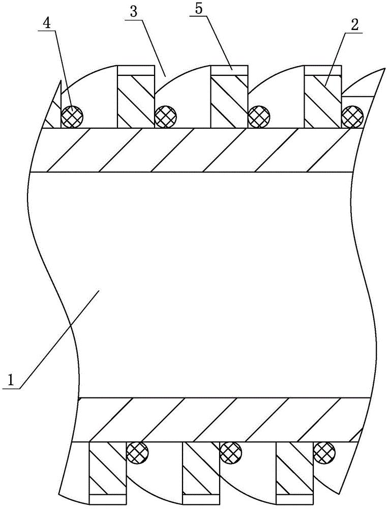
一种冷凝管加工定位结构-爱企查
图片尺寸571x800
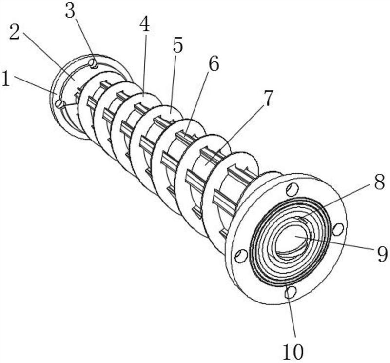
一种多孔内翅片冷凝管-爱企查
图片尺寸800x744
包括内部安装有冷凝管的水平设置的筒体,筒体上部设有进气口,筒体底部
图片尺寸578x899
摘要附图摘要本实用新型涉及一种硅橡胶生产用冷凝器,包括容器,冷凝管
图片尺寸676x800
冷凝管的简笔画
图片尺寸470x522
冷凝管
图片尺寸463x709
蛇形冷凝管葛氏
图片尺寸200x200
cn209570059u_高效冷凝管有效
图片尺寸763x1000
冷凝管的简笔画
图片尺寸327x500
直形蛇形球形冷凝管高硼硅玻璃回流装置实验用品化学实验器材中力普
图片尺寸790x1123