螺帽简笔画彩色

螺母简笔画
图片尺寸900x600
机械矢量背景
图片尺寸400x400
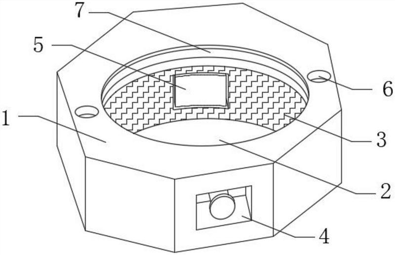
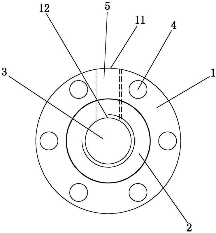
位于小圆台的周边设有若干第二螺孔,具有固定牢固,设计合理,结构简单
图片尺寸741x799
钢板螺丝帽图片
图片尺寸1024x983
商标logo
图片尺寸800x609
商标logo
图片尺寸800x516
螺母平图标插画-正版商用图片0no82p-摄图新视界
图片尺寸700x700
商标logo
图片尺寸799x793
商标logo
图片尺寸1689x1253
商标logo
图片尺寸1314x855
商标logo
图片尺寸1493x1254
商标logo
图片尺寸800x573
聪明螺母
图片尺寸750x789
商标logo
图片尺寸786x800
商标logo
图片尺寸1492x1307
商标logo
图片尺寸639x800
商标logo
图片尺寸1958x1435
商标logo
图片尺寸1425x1380
商标logo
图片尺寸800x401
商标logo
图片尺寸800x427