螺旋伞齿轮图纸

公英制螺旋伞齿轮
图片尺寸625x444
立车螺旋伞齿轮cad图纸dwg图纸
图片尺寸1102x433
c534立车螺旋伞齿轮图下载(56.91 kb,dwg格式) 机械cad图纸
图片尺寸1293x898
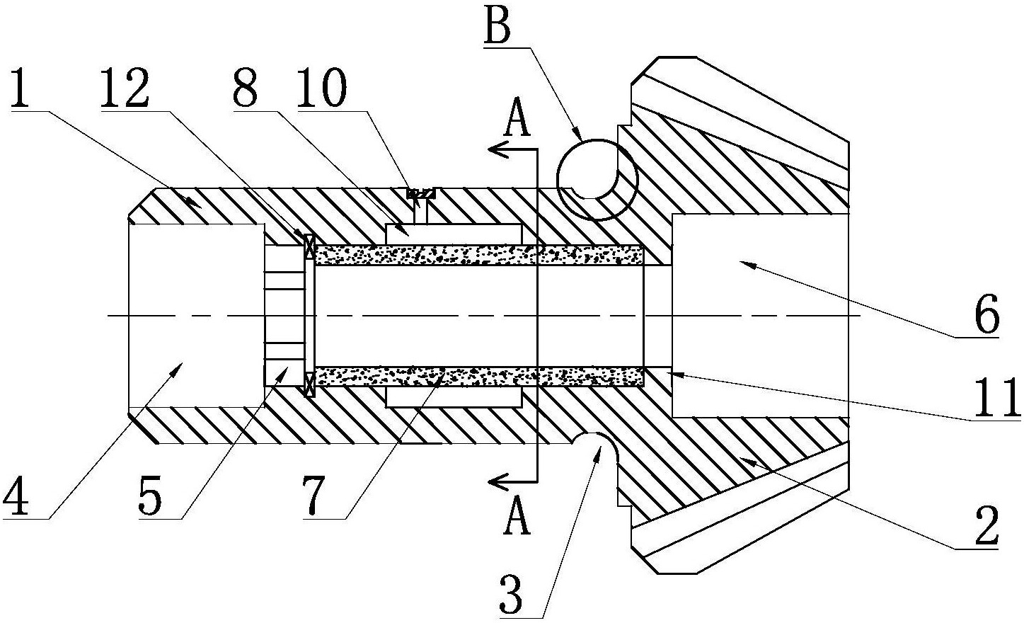
一种轻量化螺旋伞齿轮-爱企查
图片尺寸1447x880
c534立车1556-02153螺旋伞齿轮图下载(70.64 kb,dwg格式) 机械cad图纸
图片尺寸1281x909
螺旋伞齿轮
图片尺寸760x526
加工定做螺旋伞齿轮 图纸2
图片尺寸563x541
一种无人机螺旋伞齿轮副-爱企查
图片尺寸509x377
一种双基锥螺旋伞齿轮齿形的设计方法技术
图片尺寸864x875
机器人螺旋伞齿轮加工定制 图纸 查看采购商
图片尺寸660x305
关于汽车主减主动齿轮设计图纸
图片尺寸1154x922
立车螺旋锥齿轮cad图纸主动齿轮齿数19从动齿数50【700】
图片尺寸890x890
一种用于纺织机械上的螺旋伞齿轮
图片尺寸912x1000
一种角磨机螺旋伞齿轮副及其制备工艺的制作方法
图片尺寸1000x753
从动螺旋锥齿轮
图片尺寸750x550
一种粉末冶金螺旋锥齿轮的制作方法
图片尺寸525x382
螺旋伞齿轮减速机.doc 7页
图片尺寸792x1120
汽车从动螺旋伞齿轮钻模设计夹具设计含cad图纸说明书工艺工序卡片
图片尺寸841x594
求画螺旋伞齿轮
图片尺寸1042x748
伞齿轮下载(68.02 kb,dwg格式) 机械cad图纸
图片尺寸539x397