螺旋板载荷试验

螺旋板载荷试验
图片尺寸389x458
螺旋板载荷试验
图片尺寸499x341
wdl螺旋板载荷试验仪
图片尺寸500x375
c117a螺旋荷载板土基回弹模量试验仪lcd
图片尺寸800x800
如何做好地基静载荷试验看这一篇就够了
图片尺寸1920x1080
地基勘探 现场载荷试验 千 斤 顶
图片尺寸1080x810
kc30平板载荷试验仪工作原理说明
图片尺寸621x478
新疆地基检测公司电话库尔勒地基检测费用
图片尺寸800x600
螺旋板载荷静力触探联合试验仪
图片尺寸1122x2430
荷载板试验
图片尺寸563x501
深层平板载荷试验
图片尺寸640x360
图8.地下室地基载荷板试验
图片尺寸4032x3024
平板载荷测定仪
图片尺寸800x800
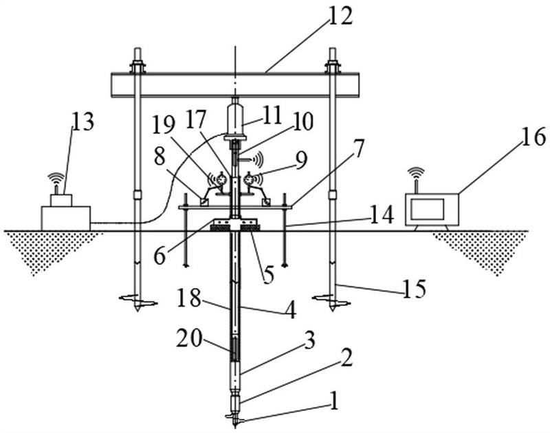
一种内置缆线式螺旋板载荷试验系统及其测试方法-爱企查
图片尺寸800x630
螺旋板载荷试验的工程应用.pdf
图片尺寸792x1156
其他地矿勘测设备-载荷试验 测试现场-台州市建元工程勘察仪器有限
图片尺寸165x165
河北威远螺旋板式换热器顺利交付
图片尺寸620x930
一种基桩静载荷试验可回收地锚反力装置的制作方法
图片尺寸853x1000
供应二手搪瓷片冷凝器二手列管式螺旋板冷凝器
图片尺寸1333x750
供应k30平板载荷测试仪厂家 平板载荷仪价格 平板载荷仪参数
图片尺寸400x400