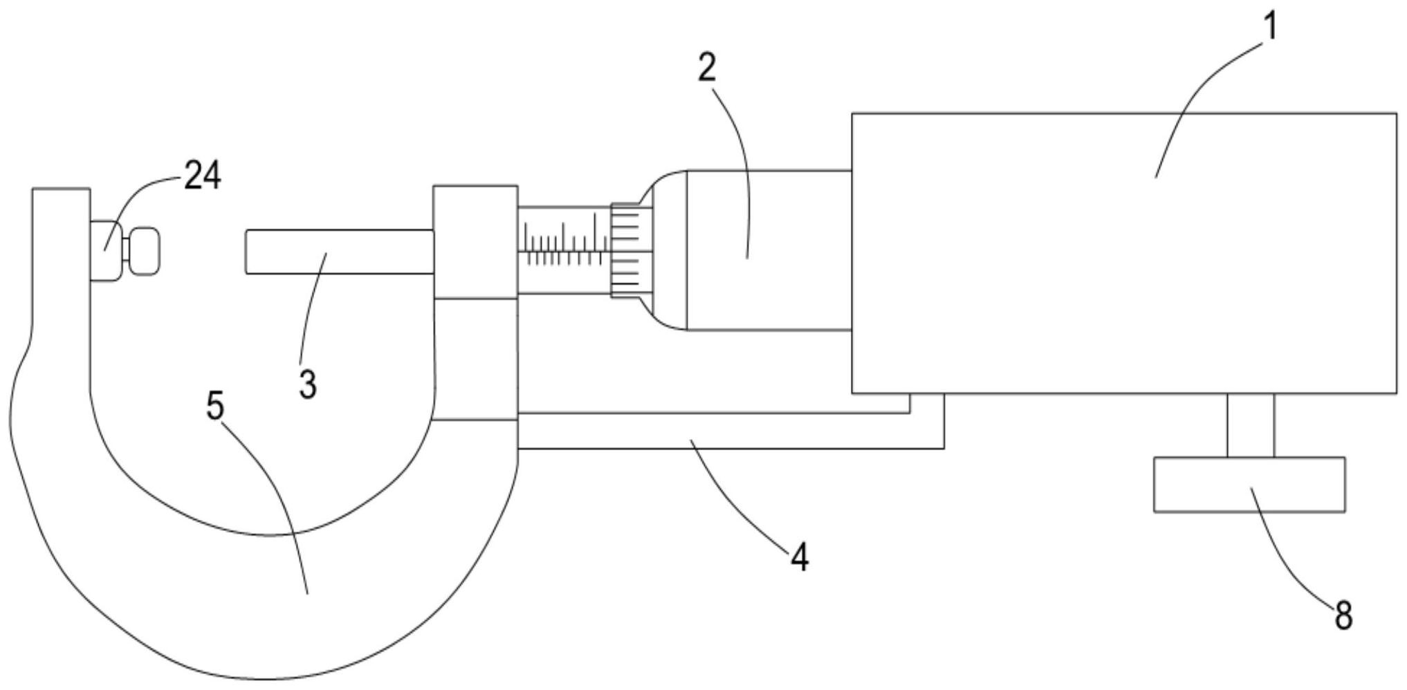
螺旋测微器结构

一,螺旋测微器 1,构造
图片尺寸1080x810
是一种精密的测量量具,下面将对螺旋测微器的原理,结构以及使用方法等
图片尺寸496x702
高中物理 螺旋测微器课件 新人教版选修3-1
图片尺寸1080x810
螺旋测微器有字幕
图片尺寸3240x2160
螺旋测微器结构和原理图
图片尺寸723x369
螺旋测微器的使用方法
图片尺寸920x690
螺旋测微器读法用法ppt
图片尺寸920x690
别急,下面就进入正题.其实,螺旋测微器是一个"螺旋副".
图片尺寸609x409
讲课螺旋测微器
图片尺寸1080x810
螺旋测微器的结构
图片尺寸506x252
螺旋测微器制造技术
图片尺寸589x1000
游标卡尺和螺旋测微器的使用详解
图片尺寸880x404
螺旋测微器原理使用方法及读数
图片尺寸920x1302
螺旋测微器由哪几部分组成
图片尺寸497x261
cn109115066b_一种新型按压式螺旋测微器
图片尺寸2034x998
一种螺旋测微器的制作方法
图片尺寸1000x426
螺旋测微器结构
图片尺寸432x195
螺旋测微器读数游标卡尺002读数方法图解
图片尺寸960x720
螺旋测微器的使用ppt
图片尺寸800x600
汽车维修通用量具--螺旋测微器
图片尺寸920x690