螺旋离心泵装配图

a0-螺旋离心泵装配图
图片尺寸819x579
螺旋离心式砂石泵
图片尺寸1082x770
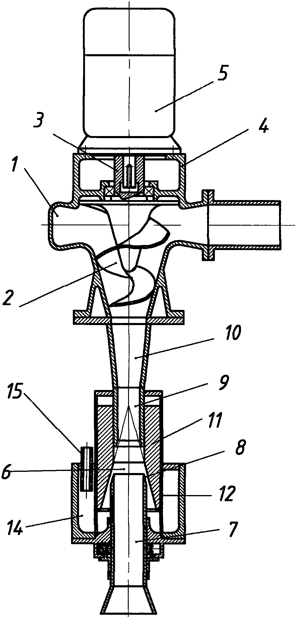
强吸力螺旋离心泵
图片尺寸996x2076
螺旋离心泵的双向流固耦合分析
图片尺寸300x303
cn208281216u_一种卧式螺旋离心泵的叶轮间隙调节机构有效
图片尺寸1484x1202
强吸力螺旋离心泵的制作方法
图片尺寸478x1000
单螺旋离心清淤泵的制作方法
图片尺寸755x1000
一种双吸螺旋离心泵
图片尺寸1000x533
装配图工程图
图片尺寸820x577
lx型螺旋离心泵
图片尺寸800x600
离心泵螺旋solidworks三维维图3d2d图纸设计cad服务机器人
图片尺寸550x550
气力输送用螺旋泵
图片尺寸670x454
抽大颗粒物质专用螺旋离心潜水泵抽各种污水,纤维
图片尺寸302x403
螺旋离心泵的设计_装配图网
图片尺寸1200x800
离心泵装配图
图片尺寸765x494
一种可换内壳的螺旋离心泵的制作方法
图片尺寸444x285
cn2874087y_螺旋输送泵失效
图片尺寸2235x1096
气力螺旋泵-企业官网
图片尺寸600x287
螺旋离心泵的设计_装配图网
图片尺寸1200x800
离心泵装配图
图片尺寸787x528