螺杆电梯结构图

螺杆式别墅电梯设计图纸
图片尺寸1400x2000
一种螺杆式垂直电梯及其工作方法
图片尺寸1314x1886
三,螺杆式驱动家用电梯
图片尺寸387x345
一种螺杆式升降电梯的制作方法
图片尺寸532x1000
电梯结构图
图片尺寸446x800
电梯结构图
图片尺寸600x696
一种自带稳定固定架构的改良螺杆电梯的制作方法
图片尺寸953x1000
蜗轮螺杆升降机
图片尺寸794x1024
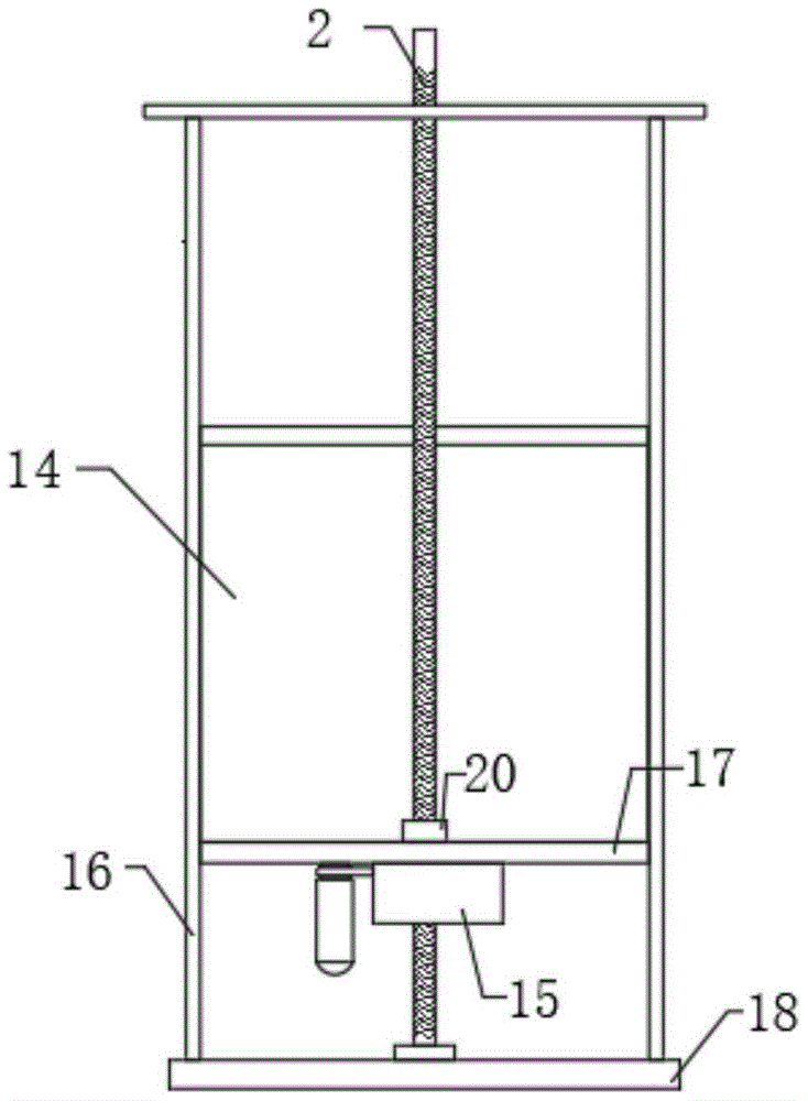
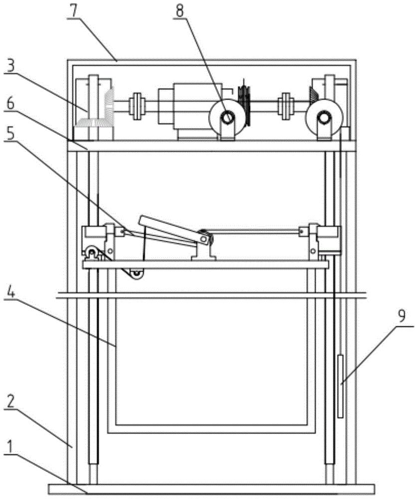
发明公开了一种螺杆式升降电梯,包括传动框架,所述传动框架呈u型结构
图片尺寸842x1583
一种新型家用螺杆平台电梯的制作方法
图片尺寸286x790
让你彻底搞懂垂直升降电梯工作原理
图片尺寸597x782
电梯结构图
图片尺寸472x759
意大利servomech梯形齿丝杠螺旋升降机ma080moda
图片尺寸640x645
一种外墙搭桥式螺杆顶升电梯
图片尺寸1445x2285
cn210029648u_一种新型双螺杆电梯有效
图片尺寸838x1000
图片浏览
图片尺寸699x816
一种螺杆式家用电梯
图片尺寸734x1000
jrss螺旋丝杠升降机结构图
图片尺寸702x428
一种螺杆升降机的制作方法
图片尺寸812x1000
传动螺杆电梯的装配结构
图片尺寸963x2466