螺栓球网架图纸

某地螺栓球节点正放四角锥网架结构施工图
图片尺寸1440x1020
标准学习钢网架螺栓球节点jgt10
图片尺寸690x367
标准学习钢网架螺栓球节点jgt10
图片尺寸544x382
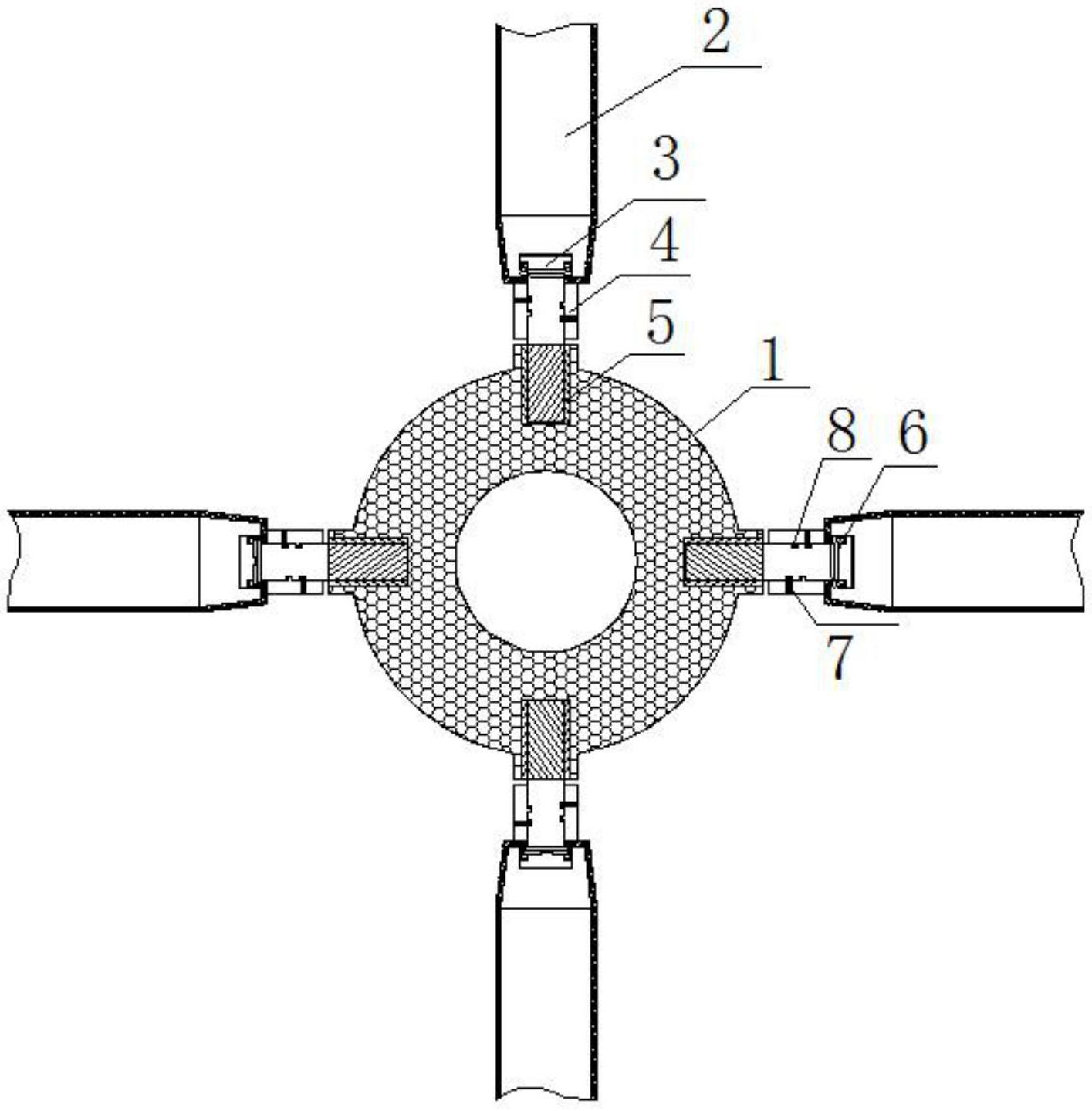
一种钢网架螺栓球节点用高强度螺栓
图片尺寸801x1000![[施工图]正方四角锥螺栓球节点网架施工图](https://i.ecywang.com/upload/1/img0.baidu.com/it/u=4076997329,3262541745&fm=253&fmt=auto&app=138&f=PNG?w=500&h=282)
[施工图]正方四角锥螺栓球节点网架施工图
图片尺寸790x445
浅谈螺栓球节点网架
图片尺寸313x533
8m螺栓球3层网架结构施工图
图片尺寸560x413
承接网架钢结构 网架节点 网架 螺栓球 欢迎合作
图片尺寸560x497
北京市定额中的螺栓球节点网架安装的定额中螺栓球节点钢网架是否包含
图片尺寸661x552
某地120m直径螺栓节点球形网架施工图
图片尺寸610x432
cn211597068u_一种可调式螺栓球网架结构
图片尺寸1415x1440
普通螺栓球双层网架结构施工图及计算书(2015)
图片尺寸745x621
一种顶面球形网架的安装结构及安装方法与流程
图片尺寸596x1000
汾阳某体育馆8796mx698m螺栓球3层网架结构施工图
图片尺寸610x432
一份四角锥螺栓球节点网架结构cad施工图纸
图片尺寸514x560
大阪博览会的网架节点:铸钢球节点
图片尺寸1022x866
一种钢结构建筑抗震球形网架结构的制作方法
图片尺寸1000x504
多功能厅圆弧形螺栓球网架- 结构图纸 - 沐风网
图片尺寸820x581
一种钢网架螺栓球节点连接结构
图片尺寸940x1000
正放四角锥螺栓球网架结构施工图
图片尺寸560x341