螺栓防松线画法

螺栓,紧固件涂抹防松标记注意事项
图片尺寸527x344
第三期作业:六角螺栓画法
图片尺寸1080x1920
12种超级经典的螺栓防松设计,大餐
图片尺寸879x361
螺纹防松规范
图片尺寸640x480
螺栓画法.谁给我个图?
图片尺寸500x338
螺栓的画法
图片尺寸1080x810
螺栓常用的防松方法介绍
图片尺寸997x748
涂打螺栓防松标注的知识点滴
图片尺寸1204x582
第1页 (共10页,当前第1页) 你可能喜欢 螺纹拧紧技术 螺栓防松 螺栓
图片尺寸1229x1780
防松螺栓检测
图片尺寸560x308
12种超级经典的螺栓防松设计
图片尺寸623x533
十二种经典的螺丝防松设计
图片尺寸731x955
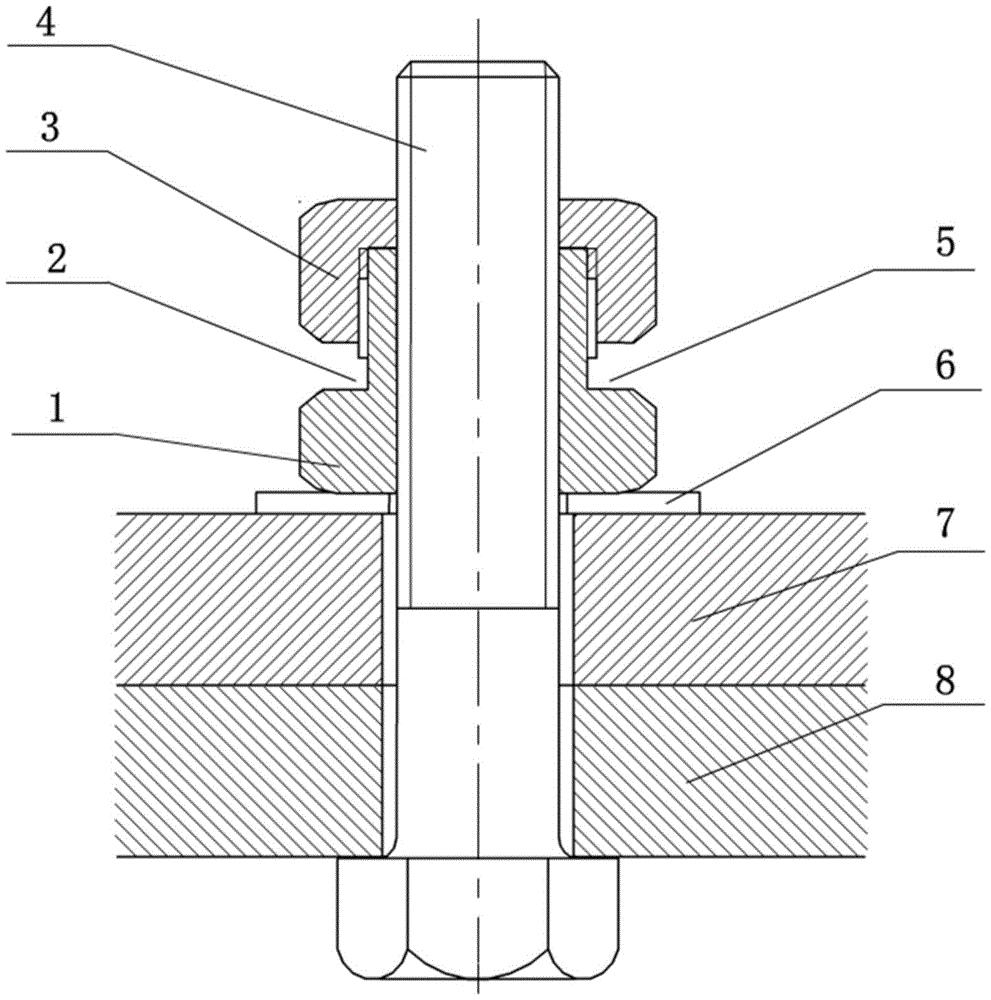
外六角螺栓防松标记涂打形式示意图 2.
图片尺寸527x813
联接的防松方式有对顶螺母,弹簧垫圈,自锁螺母,采用高强度自锁螺栓,在
图片尺寸640x536
螺栓画法
图片尺寸539x513
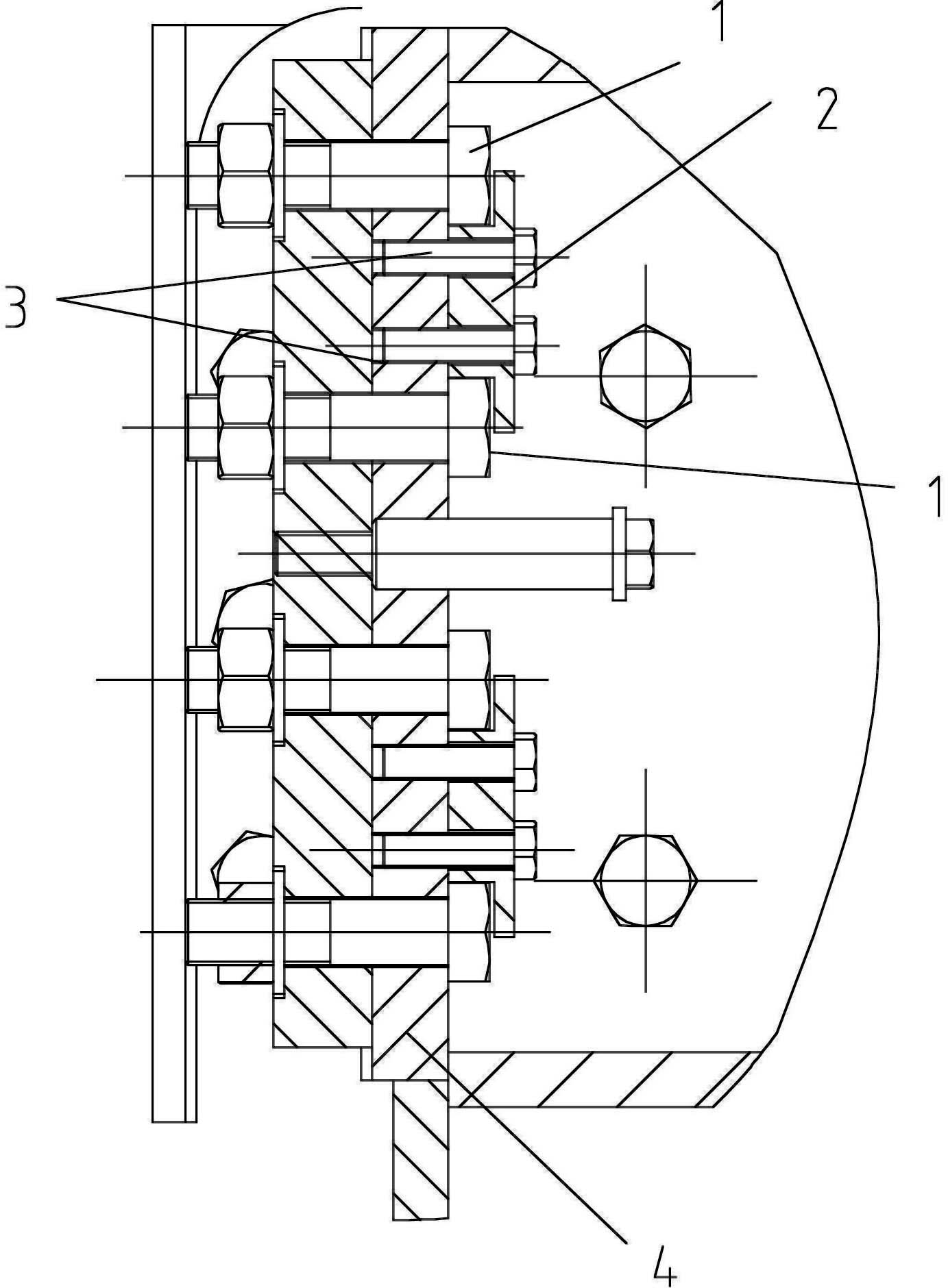
cn209781425u_一种防松螺栓组有效
图片尺寸991x1000
8d(螺母厚) 5~6 (螺栓末端伸出螺母的长度) 设d =20 mm,δ1=32 mm,δ2
图片尺寸526x588
螺栓防松装置-爱企查
图片尺寸1383x1880
凹槽防松螺栓制造技术
图片尺寸1000x906
一种组合式防松螺栓的制作方法
图片尺寸1000x830