螺纹导管手绘图

车辆装置的制造及其改造技术
图片尺寸1000x385
最左侧即为螺纹导管.
图片尺寸640x436
cn113069668a_一种螺旋可收缩管型单腔气管导管在审
图片尺寸1451x982
奥赛辅导 螺纹 环纹 梯纹 网纹 孔纹
图片尺寸1080x810
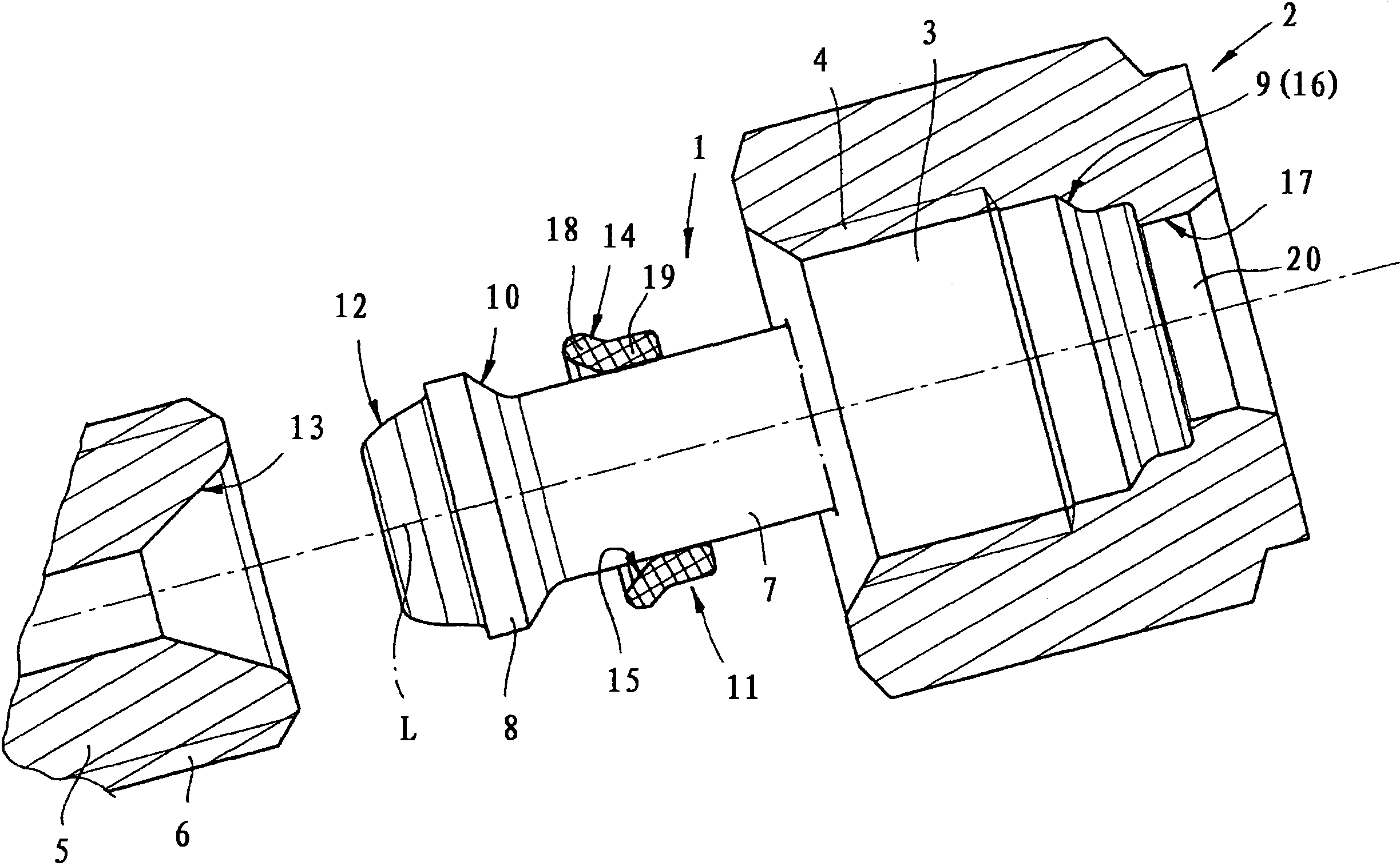
cn103807525b_用于管道,尤其用于汽车管道的螺纹连接装置有效
图片尺寸2447x1515
一种腹膜透析导管的制作方法
图片尺寸1000x946
图1 导管的主要纹式类型a环纹导管 b螺纹导管 c梯纹导管 d网纹导管 e
图片尺寸311x242
一种楔形螺纹管路连接结构的制作方法
图片尺寸819x827
一种海洋钻采用隔水导管特殊螺纹接头的制作方法与工艺
图片尺寸1000x460
螺纹管
图片尺寸253x241
一种hdpe内肋增强螺旋波纹管的制作方法
图片尺寸1000x466
环纹导管(annular vessel)和螺纹导管(spiral vessel) 这类导管是在
图片尺寸460x350
端头,所述管体端口一端与波纹管密封固定,另一端与衔接端头螺纹连接
图片尺寸1945x1057
医药医疗技术的改进医疗器械制造及应用技术
图片尺寸807x1000
药用植物学课件 导 管的类型 螺纹 环纹 梯纹 网纹 孔纹
图片尺寸1080x810
双层热熔承插式内螺纹三通管件
图片尺寸820x482
山柰的导管就只是螺纹导管?不是这样的.
图片尺寸660x492
一种新型吸氧导管
图片尺寸1698x1458
我们有图可以看出:a为一种螺纹管状死细胞所组成,应为导管;b为一种
图片尺寸280x261
螺纹导管;3.梯纹导管;4.网纹导管;5.
图片尺寸419x636