螺纹模具结构图

一种一模多腔的带螺纹盖类塑件自动脱螺纹模具结构
图片尺寸2056x1699
一种螺纹件注塑模具的制作方法
图片尺寸861x1000
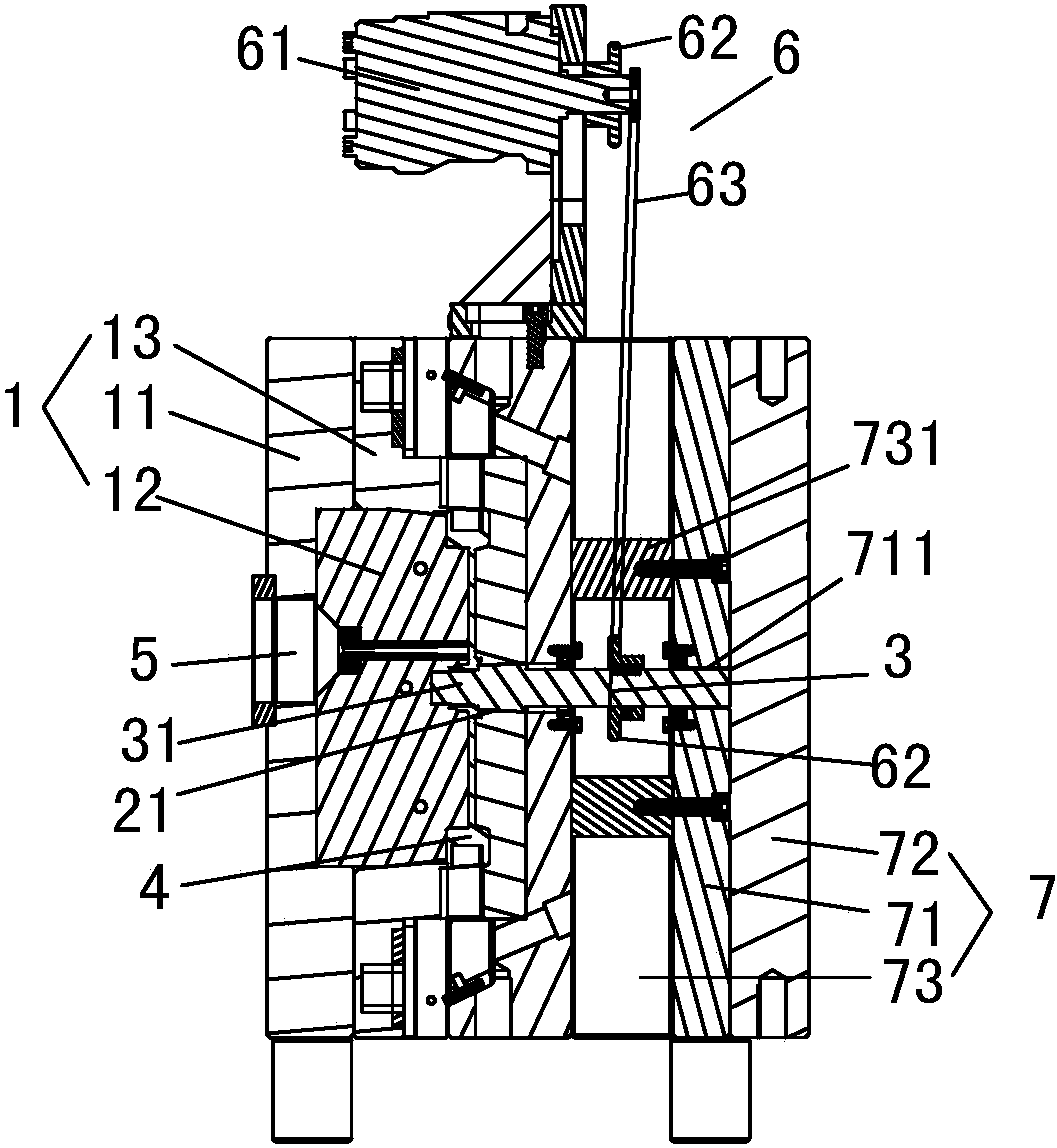
cn207156349u_具内螺纹的注塑件模具有效
图片尺寸1057x1148
分享螺纹模具的设计
图片尺寸640x442
一种带花键脱螺纹同时强脱倒扣出模结构的模具
图片尺寸1839x1324
塑料螺母模具前模齿条脱螺纹
图片尺寸759x749
螺纹套筒注塑模具结构
图片尺寸896x695
注塑模具锥齿轮啮合式八头内螺纹抽芯机构
图片尺寸611x646
一种弹后模蜗轮蜗杆出螺纹的注塑模具
图片尺寸862x1000
一种内螺纹塑胶件的注塑模具
图片尺寸1700x1238
内螺纹模具设计教程
图片尺寸596x809
自动卸螺纹模具设计初级教本.doc
图片尺寸792x1120
已解决内螺纹模具设计问题
图片尺寸768x686
高精密螺纹产品的注塑模具的制作方法
图片尺寸766x1000
一种一模多腔的带螺纹盖类塑件自动脱螺纹模具结构的制作方法
图片尺寸1000x831
一出八模具结构之三面螺纹抽芯
图片尺寸640x475
脱螺纹模具结构图纸
图片尺寸924x470
生产带内螺纹塑件的侧抽芯模具结构制造技术
图片尺寸886x484
高精密螺纹产品的注塑模具
图片尺寸869x1213
一目了然的模具结构动态图,很全!
图片尺寸576x577