蠕动泵简图

新型医用级 tpe 可增加导管在广泛的蠕动泵应用中的弹性和耐用性
图片尺寸500x428
一种多用途可调试蠕动泵的制作方法
图片尺寸1000x773
一种快装型蠕动泵的制作方法
图片尺寸1000x753
一种用于微生物培养基配制的蠕动泵结构
图片尺寸1910x1643
蠕动泵产品
图片尺寸356x357
蠕动泵使用说明书
图片尺寸630x410
一种蠕动泵制造技术
图片尺寸1000x959
cn105889040a_一种蠕动泵有效
图片尺寸1000x921
蠕动泵解决涂料制造计量问题
图片尺寸286x287
一种蠕动泵
图片尺寸1914x1575
蠕动泵的基本介绍
图片尺寸700x216
创科普蠕动泵类型有哪些如何选择合适的蠕动泵
图片尺寸1080x757
一种具有反馈功能的防倒流紧凑式蠕动泵
图片尺寸1660x1006
一种蠕动泵的制作方法
图片尺寸1000x889
一种可调式直线型蠕动泵的制作方法
图片尺寸667x1000
湖北智能型蠕动泵
图片尺寸645x259
一种蠕动泵的制作方法
图片尺寸1000x934
一种用于材料运输的蠕动泵
图片尺寸1393x1395
线性蠕动泵制造技术
图片尺寸1000x943
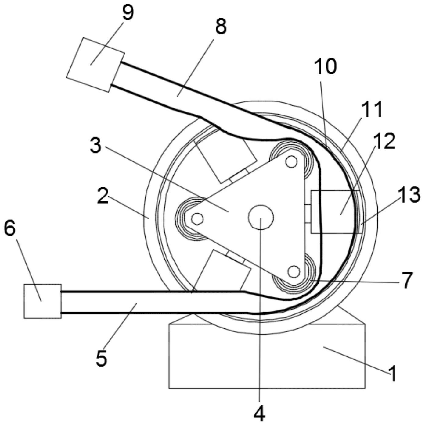
一种用于低脉冲场景的蠕动泵的制作方法
图片尺寸996x1000