表冷器构造图

表冷器是给制冷机散热的,把热量排到室外,它把压缩机压缩排出高温高压
图片尺寸640x504
tls型表冷器
图片尺寸810x342
cn209319154u_一种便于安装的表冷器有效
图片尺寸770x1000
一种便于清洁的风机盘管表冷器的制作方法
图片尺寸523x364
纺织空调表冷器,化纤空调冷凝器
图片尺寸1000x1415
一种表冷器防冻系统装置的制作方法
图片尺寸1000x976
表面冷却器热工性能实验表面冷却器热工性能实验 表面冷却器具有构造
图片尺寸1014x630
表冷器-德州华信空调设备厂-谷瀑除尘设备网
图片尺寸600x500
闭式冷却塔表冷器防冻结可靠排余水结构制造技术
图片尺寸916x879
5铜管表冷器
图片尺寸697x370
厂家供应非标表冷器蒸发器冷水空调雪种冷凝器
图片尺寸956x443
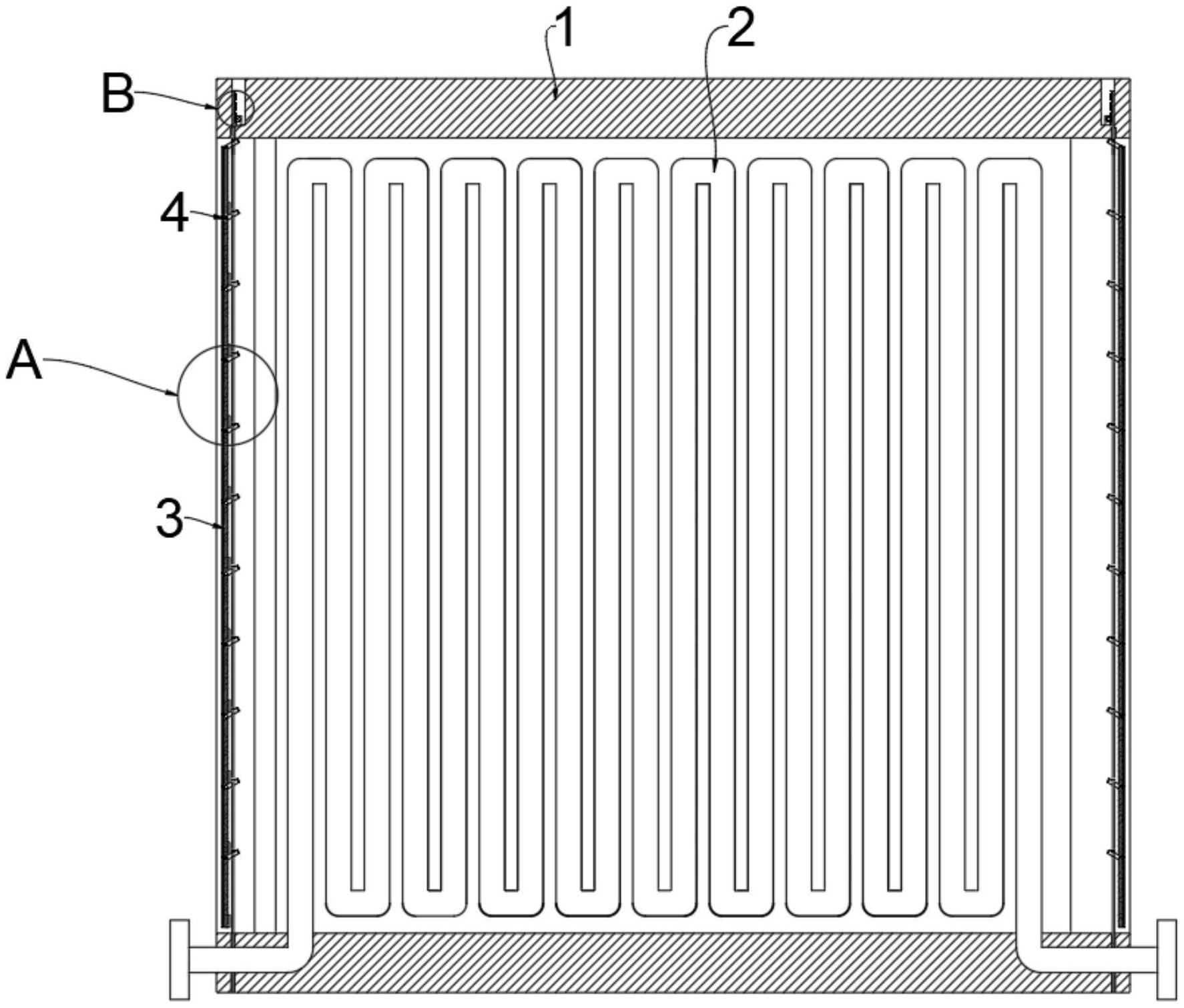
一种用于空调表冷器的防冻装置-爱企查
图片尺寸1774x1510
出厂价供应厂家批量供应srz型散热器(表冷器) 厂家直销
图片尺寸923x548
双虎表面冷却器油表冷器
图片尺寸595x842
冷凝器的种类和工作原理
图片尺寸507x394
一种表冷器预冷式间接蒸发冷却空调系统
图片尺寸1666x988
冷油器结构及尺寸表
图片尺寸400x442
中央空调机组风柜表冷器厂家定做维修更换.表冷器更换步骤 一 - 抖音
图片尺寸4608x3456
冷凝器的种类和工作原理
图片尺寸347x310
液压冷却器设备
图片尺寸1154x955