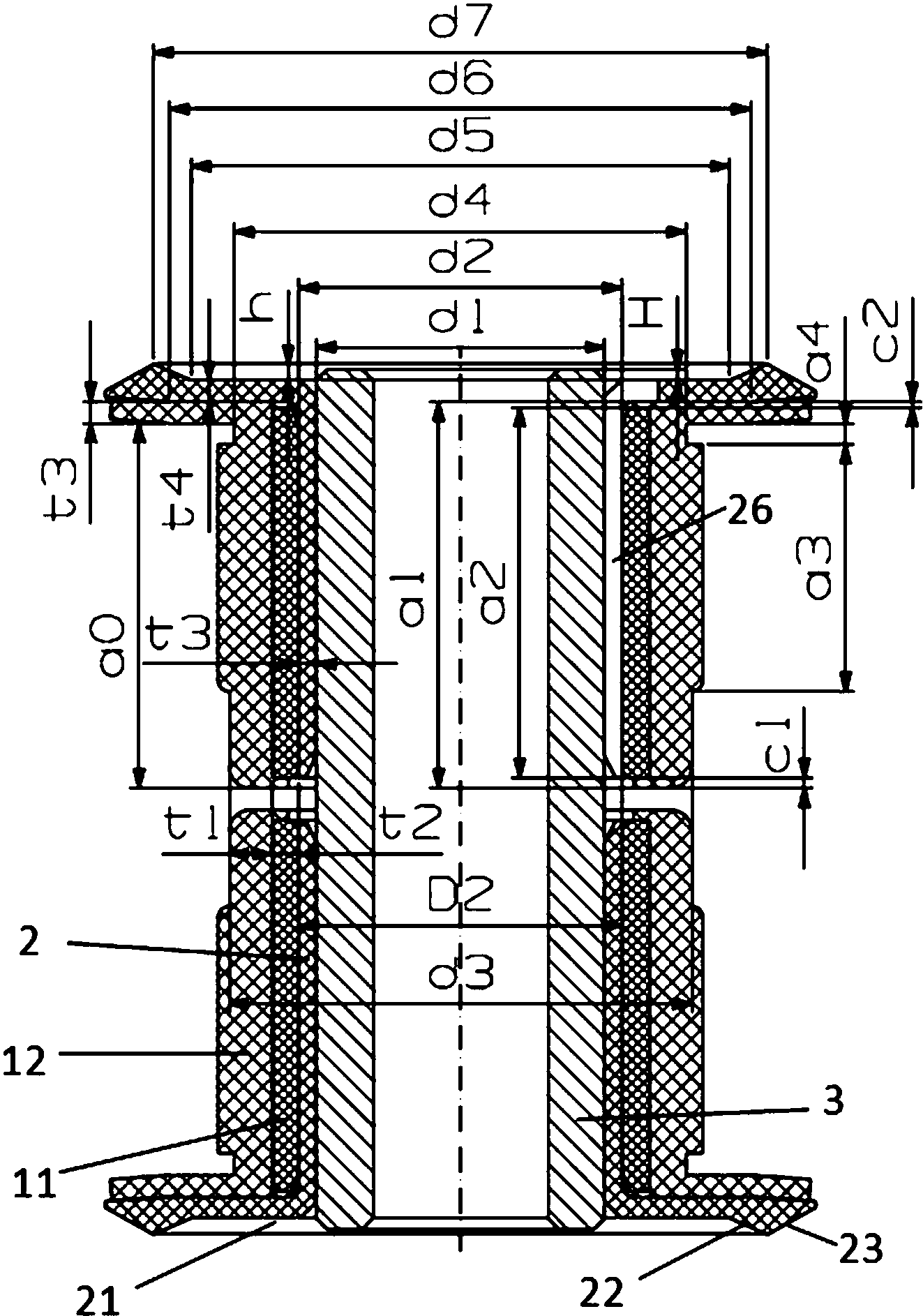
衬套零件工程图

a4衬套pdf
图片尺寸800x1132
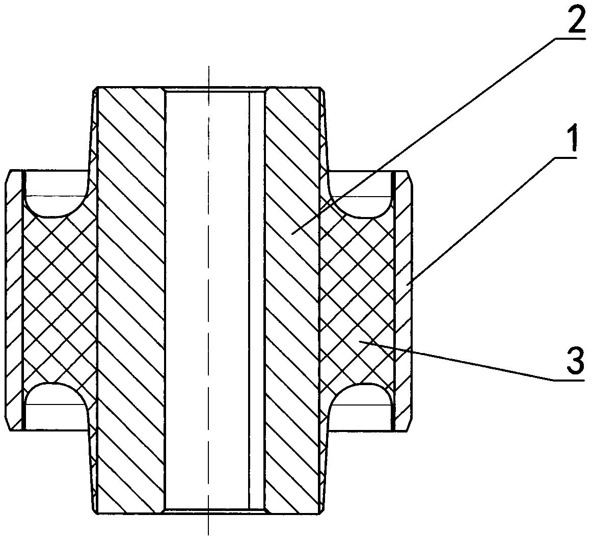
衬套2
图片尺寸820x1159
零件衬套pdf
图片尺寸800x568
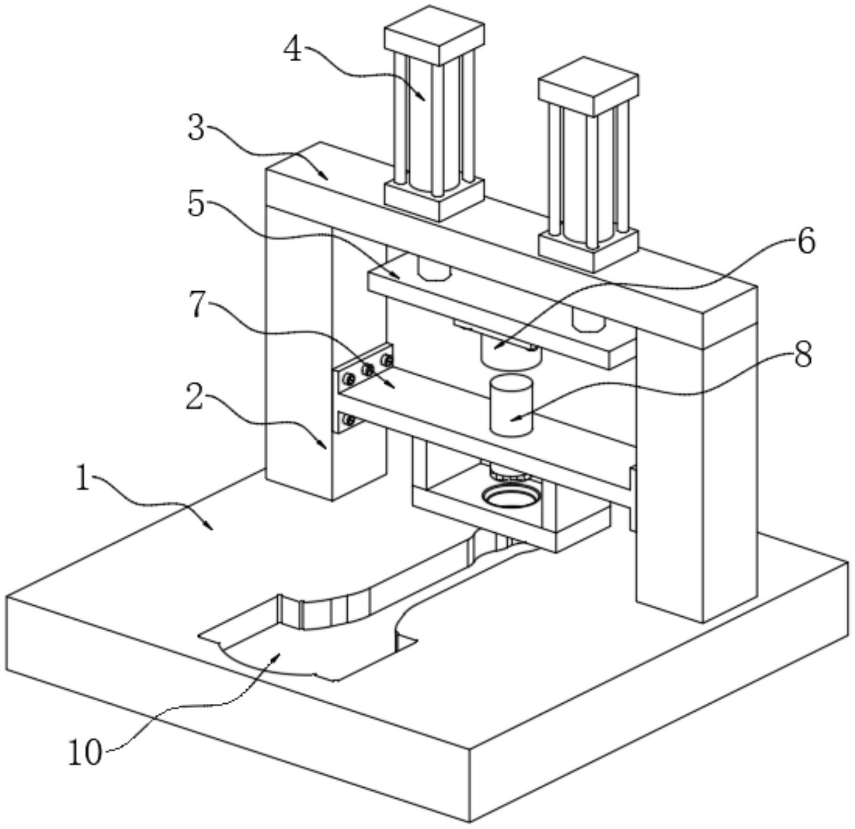
夹具 衬套
图片尺寸654x830
一种液压衬套
图片尺寸1837x1794
x一种上连杆橡胶衬套-爱企查
图片尺寸1162x1062
一种乘用车用液压衬套的制作方法
图片尺寸440x443
主浇道衬套pdf
图片尺寸800x1132
无油衬套图纸sw150872-08-13
图片尺寸893x1263
一种曲轴连杆衬套的装配装置
图片尺寸1721x1668
一种控制臂液压衬套和车辆的制作方法
图片尺寸443x375
cn107606015a_一种板簧衬套总成在审
图片尺寸1323x1886
衬套a4.dwg
图片尺寸1200x800
衬套
图片尺寸2310x1737
一种驾驶室后悬锁紧支架橡胶衬套的制作方法
图片尺寸444x415
衬套草图.工程制图.矢量图
图片尺寸1200x1080
衬套63
图片尺寸820x1159
一种汽车后减震器衬套的制作方法
图片尺寸926x1000
一种活塞销孔衬套结构
图片尺寸443x410
某主轴衬套cad节点构造施工图纸
图片尺寸610x861