袋式过滤器结构

进口袋式过滤器结构形式不锈钢快开袋式过滤器袋式过滤器适用于大流量
图片尺寸522x300
袋式过滤器——小巧多用途过滤设备_液体_表面_颗粒
图片尺寸934x1142
袋式过滤器
图片尺寸1000x2023
袋式过滤器
图片尺寸332x345
bep-650-7d工业水处理不锈钢袋式过滤器280m³/h
图片尺寸4966x3508
12袋快开式过滤器
图片尺寸1654x2339
袋式过滤器
图片尺寸1610x1906
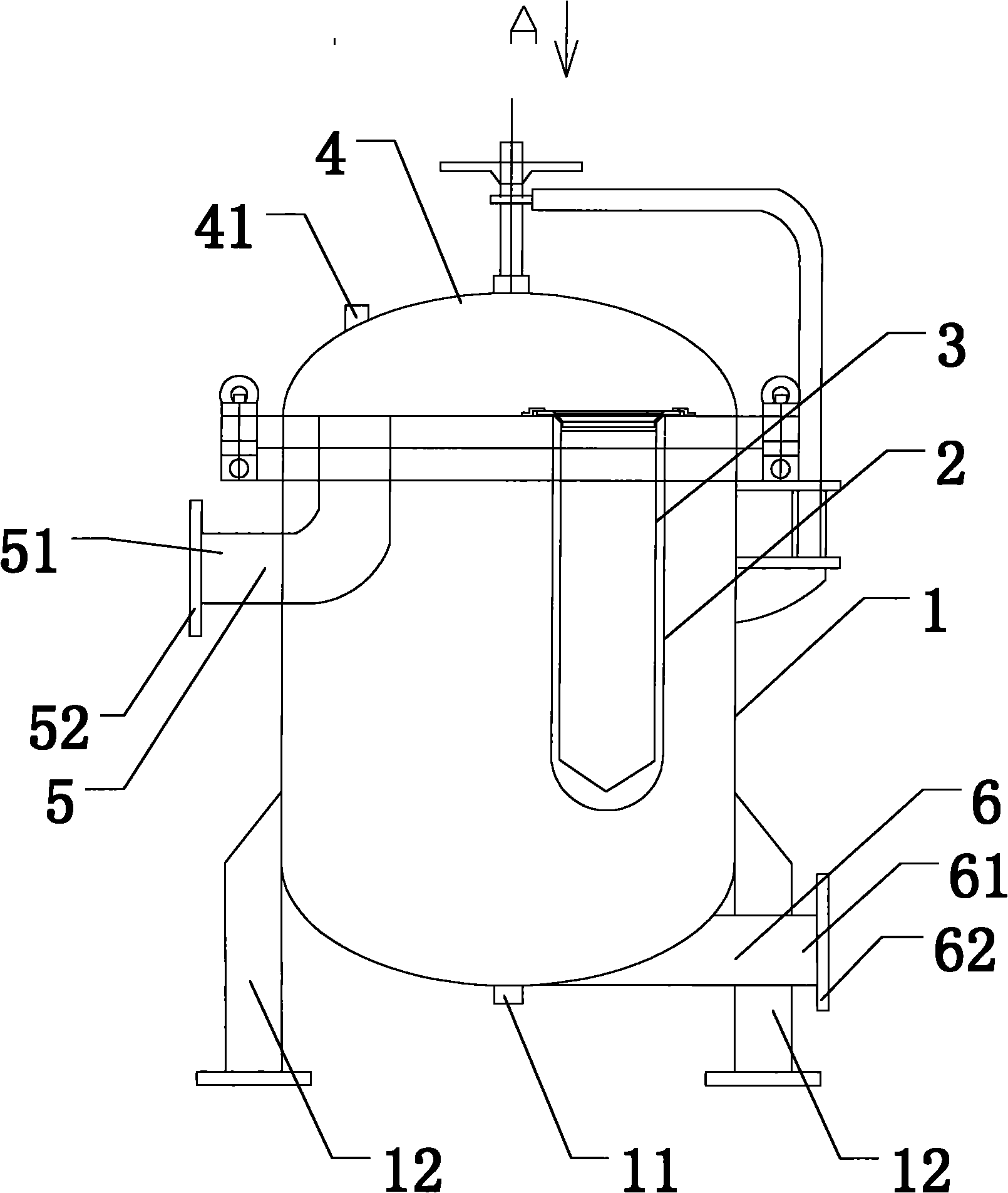
袋式过滤器结构图.jpg
图片尺寸1085x856
精密袋式过滤器
图片尺寸570x570
一种耐酸碱溶液腐蚀性过滤器
图片尺寸640x442
袋式过滤器型号,袋式过滤器gm3,袋式过滤器标准,袋式过滤器结构图
图片尺寸416x300
清洗液过滤设备袋式精过滤器
图片尺寸640x905
sj 不锈钢多袋式过滤器 大流量布袋式过滤机
图片尺寸400x533
一种袋式过滤器的制作方法
图片尺寸948x1000
最优质的水液体啤酒不锈钢袋式过滤器外壳 10 英寸
图片尺寸2256x2634
袋式过滤器设计图
图片尺寸268x428
一种袋式过滤器
图片尺寸1368x2187
袋式过滤器
图片尺寸900x530
侧入袋式过滤器的应用介绍 - 广州思创过滤
图片尺寸500x663
p>袋滤器是气体过滤净制的一种设备.
图片尺寸245x341