袋式除尘器cad图纸

布袋除尘器结构图
图片尺寸600x480
脉冲布袋除尘器
图片尺寸865x576
小型布袋除尘器cad图纸
图片尺寸640x460
24袋脉冲布袋除尘器dmc24型单机脉冲布袋除尘器
图片尺寸720x677
脉冲喷吹布袋除尘器的结构和影响清灰效率的因素
图片尺寸995x704
布袋除尘器原理结构图
图片尺寸878x634
48袋脉冲布袋除尘器参数
图片尺寸600x400
单机脉冲布袋除尘器锅炉燃煤生物质木工水泥仓顶粉尘工业环保设备 24
图片尺寸800x800
dmc48袋脉冲布袋除尘器图纸
图片尺寸660x472
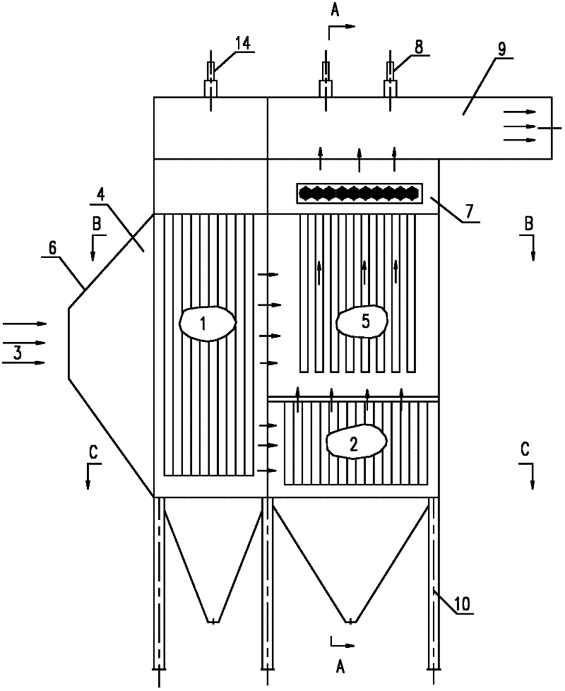
一种电袋复合除尘器
图片尺寸1413x1715
mc型脉冲袋式除尘器
图片尺寸500x571
布袋除尘器型号及尺寸
图片尺寸700x749
袋式除尘器
图片尺寸500x412
一种电袋复合除尘器
图片尺寸800x978
布袋除尘器除尘二十个要点
图片尺寸598x456
长袋低压脉冲除尘器图纸-河北初心环保气象脉冲除尘器32-4河北初心
图片尺寸292x345
一种电袋复合除尘器
图片尺寸1410x942
脉冲布袋除尘器除尘效果不好是什么原因_袋式_进行_配件
图片尺寸500x375
砖混结构袋式除尘器
图片尺寸709x473
31滤袋的检验与选用袋式除尘器的重点知识
图片尺寸640x324