袖剑制作图纸

袖剑制作教程图解第2页
图片尺寸580x354
求专家剖析袖剑结构图
图片尺寸500x668
刺客信条袖剑图纸
图片尺寸1526x1080
pcdk"> span class="ref" data-ctrid="sptpg2nusxic"> b>袖剑(hidden
图片尺寸1080x1086
模型 #3d打印 #男人玩具 #袖剑 解剖图 - 抖音
图片尺寸1066x608
刺客信条袖剑图纸
图片尺寸1526x1080
袖剑设计图 转自袖剑吧
图片尺寸729x796
本人是呼市的,问下制作袖剑的伸缩格在哪里有卖,价格是多少!
图片尺寸450x445
【s君实验室】三段袖剑后半段制作方法及详细尺寸
图片尺寸640x360
刺客信条袖剑制作流程
图片尺寸960x1280
pcdk"> span class="ref" data-ctrid="sptpg2nusxic"> b>袖剑(hidden
图片尺寸1046x669
3dmgame论坛
图片尺寸413x411
刺客信条袖剑制作流程
图片尺寸1080x1439
刺客信条的袖剑,哪里能买,我要的是真的,防身用,不是cos或者收藏,设计
图片尺寸580x639
【s君实验室】三段袖剑后半段制作方法及详细尺寸
图片尺寸3648x2280
简单几步制作超炫酷的袖剑折纸,你学会了吗-度小视
图片尺寸1080x1440
pcdk"> span class="ref" data-ctrid="sptpg2nusxic"> b>袖剑(hidden
图片尺寸1080x811
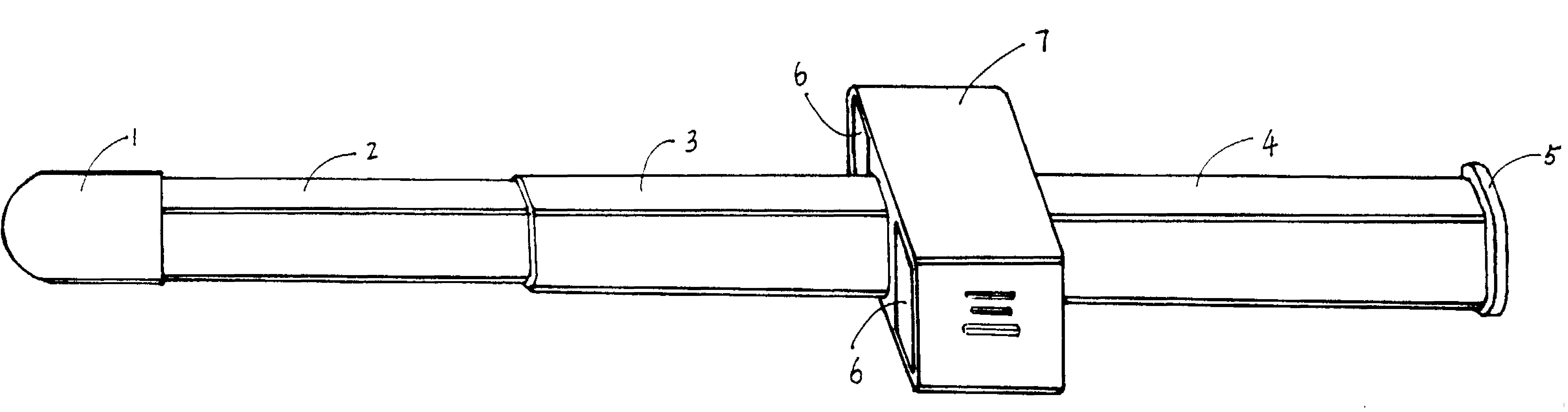
一种电子袖剑
图片尺寸7296x1920
袖剑!可以完全看到内部结构!透明亚克力剑盒
图片尺寸4624x3468
全纸板制作唐门暗器~袖剑.详细教程
图片尺寸540x720