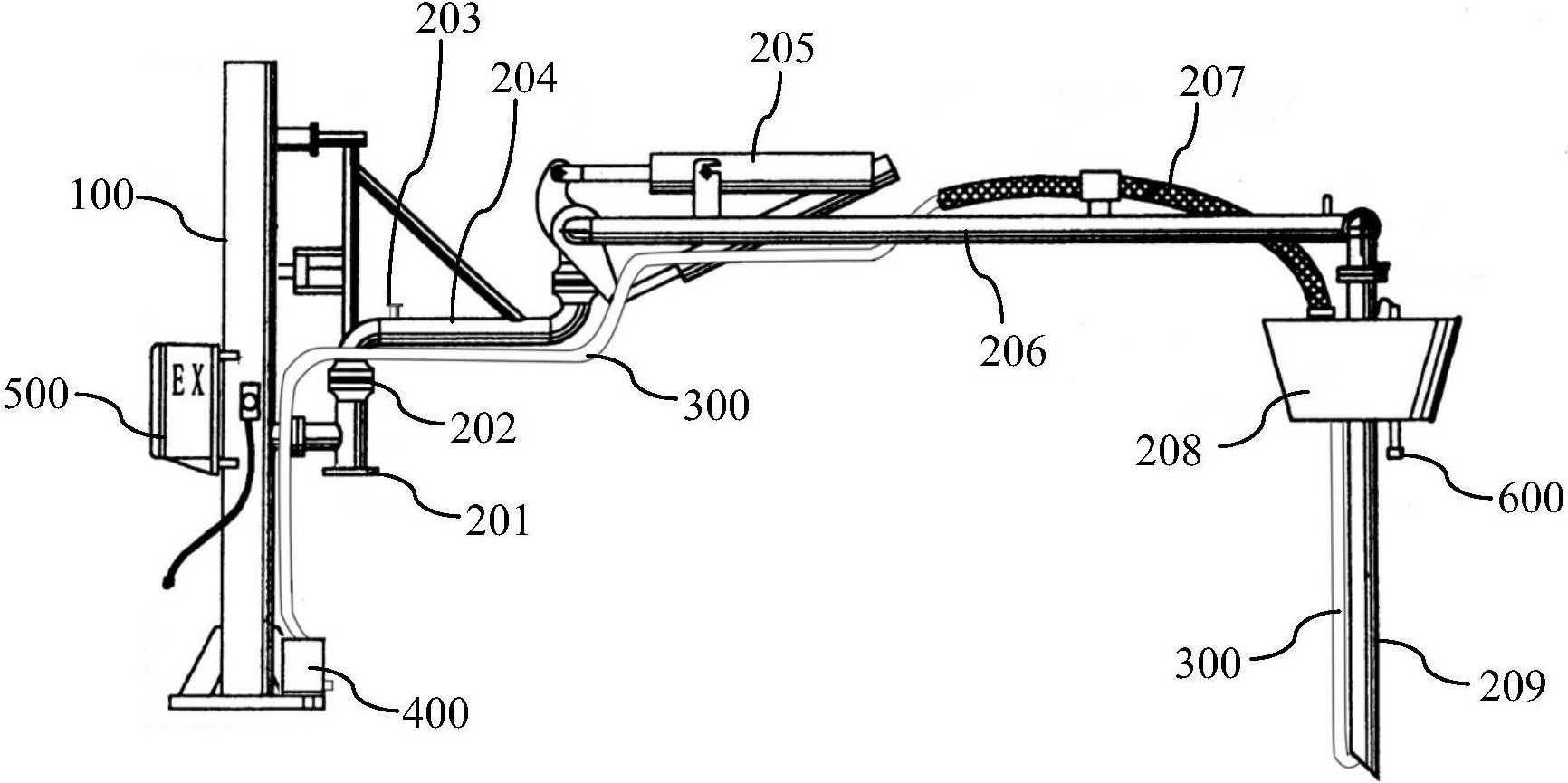
装车鹤管的结构

鹤管主要由以下部分组成
图片尺寸1268x846
远大供应al2543汽车底部卸车鹤管--产品佳,质量优
图片尺寸471x340
汽车顶部装车鹤管【厂家 价格 批发】-宇航航天装备有限公司
图片尺寸584x254
上海al2404底部装卸鹤管
图片尺寸550x340
化工成套设备鹤管流体装卸臂
图片尺寸465x338
hg陆用流体装卸臂鹤管
图片尺寸1000x431
钢架结构,卸车鹤管安装之前在安装位置应有与卸车鹤管底板等宽的承重
图片尺寸537x383
装车鹤管-武汉胜冠石化设备有限公司
图片尺寸1065x781
卸氨水选型使用al2543装卸车鹤管介绍
图片尺寸401x254
常见鹤管型号简图-常见型号结构图-产品展示-连云港友城石化设备有限
图片尺寸1312x953
一种基于3d视角的火车悬臂装车鹤管
图片尺寸1230x1348
一种全自动汽车装车鹤管的制作方法
图片尺寸592x527
一种带有加热装置的工业萘装车鹤管-爱企查
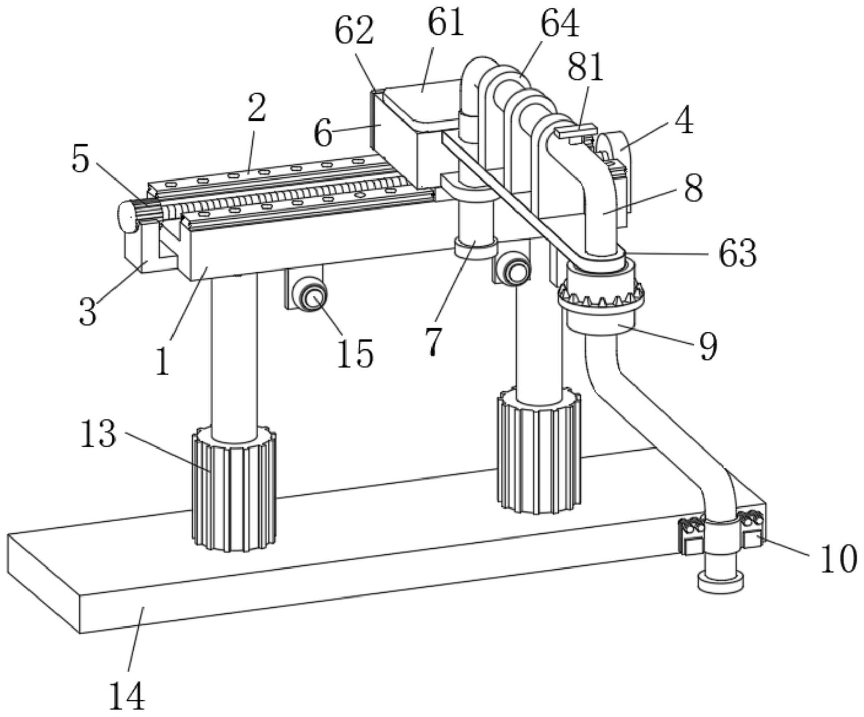
图片尺寸1732x865
一种气缸压紧式可伸缩装车鹤管制造技术
图片尺寸837x1000
一种移动接油斗式装车鹤管
图片尺寸488x520
cn111762748a_一种基于3d机器视觉的火车悬臂装车鹤管有效
图片尺寸1698x1410
一种自动型悬臂式密闭装车鹤管及其控制方法
图片尺寸1937x1234
al1412r汽车顶部密闭鹤管 上装气液相鹤管 化工鹤管厂家
图片尺寸750x1045
cn213356944u_一种食用油装车移动式鹤管
图片尺寸586x468
一种基于3d机器视觉的火车悬臂装车鹤管的制作方法
图片尺寸1000x807