装配式女儿墙

您好,欢迎您访问陕西建筑产业投资集团有限公司官网!
图片尺寸569x379
装配式女儿墙
图片尺寸600x485
装配式女儿墙
图片尺寸600x485
女儿房背景墙合集
图片尺寸1080x864
装配式建筑干货分享富煌钢构带您走进女儿墙施工
图片尺寸640x480
装配式建筑干货分享|富煌钢构带您走进女儿墙施工
图片尺寸640x480
装配式建筑干货分享|富煌钢构带您走进女儿墙施工
图片尺寸640x480
装配式建筑干货分享|富煌钢构带您走进女儿墙施工
图片尺寸640x480
装配式女儿墙
图片尺寸600x485
基于bim的装配式混凝土建筑 预制构件信息模型数据库的建立和应用
图片尺寸1173x742
广州居宅设计新作—琴瑟合鸣
图片尺寸2400x1800
虎门金地琥悦美式女儿房装修效果图效果图
图片尺寸900x675
装配式建筑干货分享|富煌钢构带您走进女儿墙施工
图片尺寸640x480
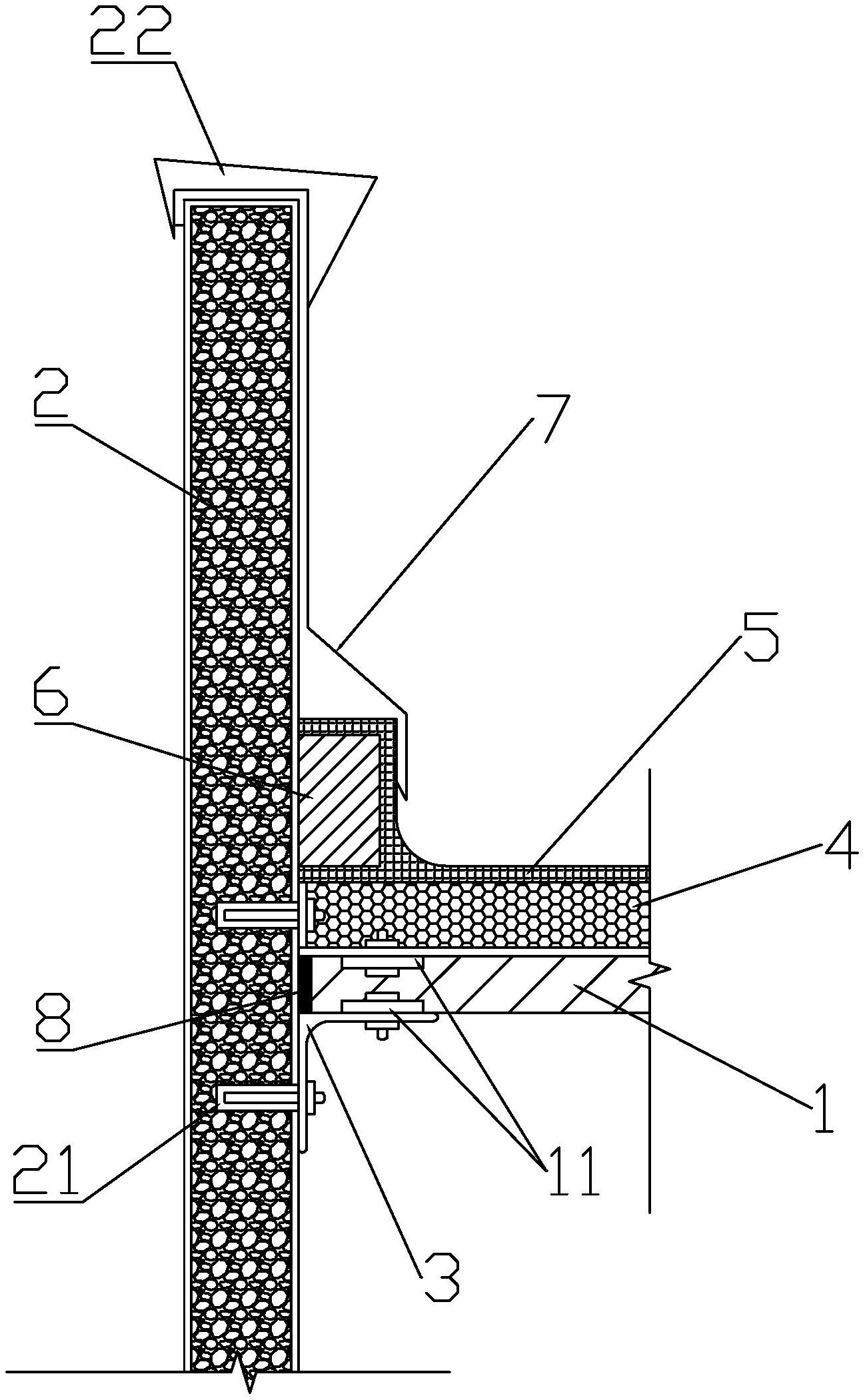
一种被动式低能耗装配式钢结构建筑女儿墙及其施工方法
图片尺寸1185x1952
装配式建筑干货分享富煌钢构带您走进女儿墙施工
图片尺寸640x755
女儿墙样板
图片尺寸640x448
2014年二级建造师零基础学习词汇:女儿墙
图片尺寸478x391
一种被动式低能耗装配式钢结构建筑女儿墙及其施工方法技术
图片尺寸607x1000
5 女儿墙 【规范条文】 《装配式混凝土结构技术规程》jgj 1-2014
图片尺寸419x329
一种装配式板材女儿墙构造-爱企查
图片尺寸1298x2101