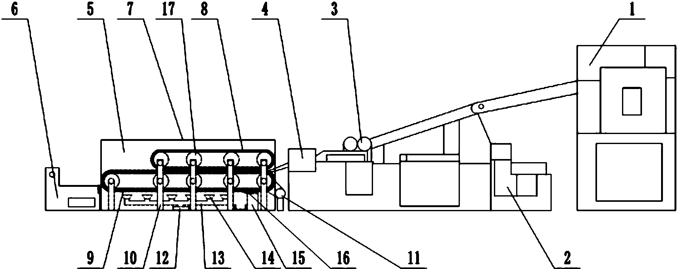
裱纸机原理图

cn111775510a_一种局部裱纸机
图片尺寸1589x1895
一种裱纸机的翻纸装置-爱企查
图片尺寸2033x1868
cn207105999u_一种便于清理输送带干胶的防纸张偏移的吸附型裱纸机
图片尺寸2167x861
一种浮动调节的卷纸机
图片尺寸1900x1509
全自动裱纸机
图片尺寸500x339
一种卷纸机的制作方法
图片尺寸1000x461
覆膜机工作原理2
图片尺寸1920x1100
一种便于操作的全自动裱纸机的制作方法
图片尺寸349x443
cn207618684u_一种裱纸机的送纸装置有效
图片尺寸1000x688
cn2714603y_超成形高速薄页造纸机失效
图片尺寸709x469
裱纸机的制作方法
图片尺寸841x1000
cn201334274y_卷盘包装纸复卷机失效
图片尺寸1994x1118
一种裱纸机面纸输送压纸结构的制作方法
图片尺寸1000x937
多层裱纸机及其使用方法与流程
图片尺寸587x221
cn102166915a_一种裱贴与压印联动的印后包装工艺及裱纸模切机有效
图片尺寸2503x1988
高速裱纸机哪家好,高速裱纸机厂家供货,高速裱纸机品牌
图片尺寸720x540
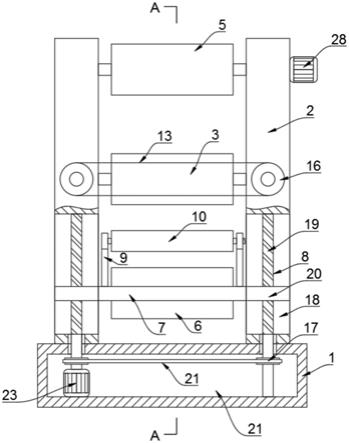
一种裱纸机底纸夹持机构的制作方法
图片尺寸1000x950
非标数模全自动裱纸机3d模型图纸solidworks设计
图片尺寸1440x959
高速裱纸机,全自动裱瓦楞,全自动裱灰板,全自动裱纸机
图片尺寸1080x1920
一种全自动牛皮纸自动打包机
图片尺寸1827x1142