褥垫式排水

褥垫式排水
图片尺寸268x162
褥垫式排水
图片尺寸859x383
褥垫式排水
图片尺寸1181x458
褥垫式排水
图片尺寸842x408
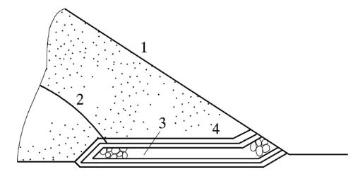
褥垫式排水1—护坡;2—浸润线;3—排水;4—反滤层
图片尺寸500x253
【注意识图】 排水形式:贴坡排水,棱体排水,褥垫排水,管式排水和综合
图片尺寸498x231
高强度渗排水网垫
图片尺寸750x750
方便面渗透排水片材褥垫排水用土工席垫恒全厂家直销商家主营
图片尺寸660x660
复合加筋排水褥垫技术
图片尺寸560x340
一觞一咏 畅叙幽情——夏葵《兰亭修稧图卷》
图片尺寸640x2612
形式:贴坡排水,棱体排水,褥垫排水,管式排水和综合式排水.
图片尺寸781x354
一觞一咏 畅叙幽情——夏葵《兰亭修稧图卷》
图片尺寸640x2612
2024年二级建造师「水利水电」考前50条黄金问答「必备收藏」
图片尺寸832x346
图4.13 综合排水4.3.4 护坡土石坝的上,下游坝面一般要设置护坡.
图片尺寸471x246
褥垫排水
图片尺寸462x272
方便面渗透排水片材 褥垫排水用土工席垫 恒全厂家直销 商家主营图片
图片尺寸660x660
一觞一咏 畅叙幽情——夏葵《兰亭修稧图卷》
图片尺寸640x2612
浆固散体桩技术 加筋碎石桩技术 复合加筋排水褥垫技术 其他新技术
图片尺寸640x480
一觞一咏 畅叙幽情——夏葵《兰亭修稧图卷》
图片尺寸640x2612
坝体排水和反滤层
图片尺寸1860x2631