西峡县任国贤女儿

2015年2月3日,西峡县公安局对任国贤非法案进行立案侦查,该案波及范围
图片尺寸1080x1521
西峡县委书记周华锋春节前夕看望慰问2020年全国五好家庭
图片尺寸1080x1439
王全洲 西峡县人民政府办公室主任
图片尺寸1121x1686
交通万象 正文 中新社南阳2月2日电(记者 董飞)2日上午,河南省西峡县
图片尺寸552x266
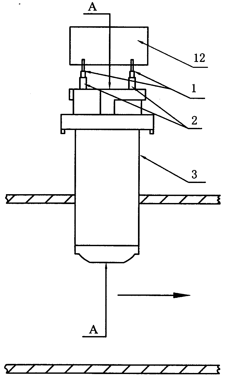
一种插入式水表
图片尺寸879x1462
南阳 信息编号:44096084 产品价格:面议 所在区域:河南南阳西峡县
图片尺寸468x300