西瓜授粉器

曹氏天正西瓜专用座果王坐瓜灵授粉神器#西瓜种植 #西瓜授粉 - 抖音
图片尺寸800x800
新款超钢喷花授粉器点花器西红柿喷雾器西瓜黄瓜点花喷花神器农用
图片尺寸800x800
西瓜授粉器喷花器西红柿大樱桃不锈钢喷雾器点花授粉授粉神器喷枪
图片尺寸760x760
西瓜授粉器喷花神器番茄黄瓜猕猴桃花卉蔬菜果树点花器沾花授粉枪
图片尺寸800x800
不锈钢西瓜授粉器授粉标签西红柿喷花器樱桃喷花喷雾器点花器喷
图片尺寸800x800
曹氏天正西瓜专用座果王授粉神器防裂防畸免沾花省时省力省工座果
图片尺寸800x1464
西瓜授粉器喷花神器番茄黄瓜猕猴桃花卉蔬菜果树点花器沾花授粉枪
图片尺寸800x800
西瓜授粉器
图片尺寸300x300
点花器授粉器西红k柿番茄人工猕猴桃西瓜喷雾器黄瓜喷花器授粉神
图片尺寸800x800
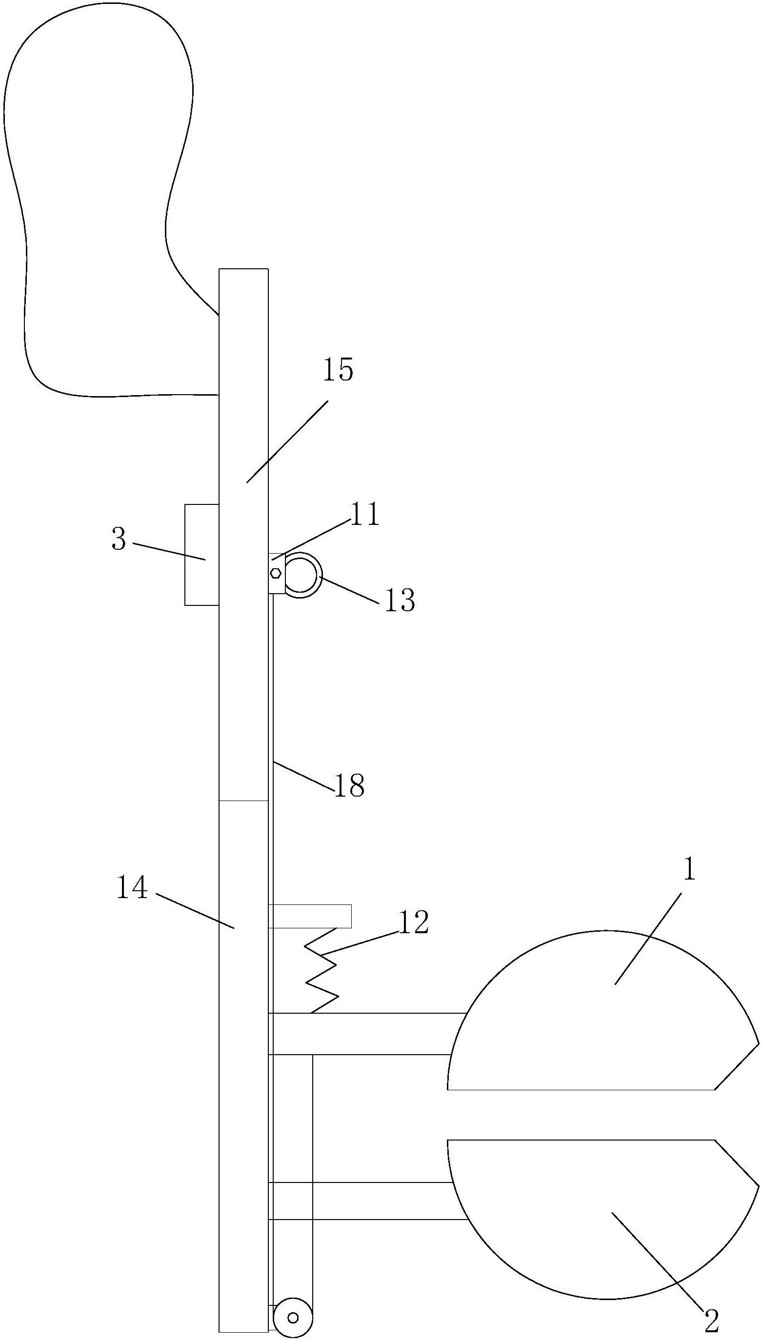
一种西瓜苗授粉器及其使用方法-爱企查
图片尺寸1564x2751
西瓜授粉器喷花神器番茄黄瓜猕猴桃花卉蔬菜果树点花器沾花授粉枪
图片尺寸800x800
科能多功能锂电池电动授粉器 番茄喷枪西红柿 黄瓜甜瓜西瓜喷花器
图片尺寸792x792
科能电动授粉器多功能锂电池 番茄喷枪西红n柿 黄瓜甜瓜西瓜喷花
图片尺寸400x400
西红柿番茄人工猕猴桃点花器 西瓜授粉器 黄瓜喷花器授粉神器
图片尺寸800x800
西瓜授粉器喷花神器番茄黄瓜猕猴桃花卉蔬菜果树点花器沾花授粉枪
图片尺寸800x800
新型西红柿授粉器点花器喷花器樱桃西瓜不锈钢授粉喷雾器点花喷花
图片尺寸800x800
西瓜授粉器喷花神器番茄黄瓜猕猴桃花卉蔬菜果树点花器沾花授粉枪
图片尺寸800x800
凯悦畜牧授粉神器西瓜喷雾器黄瓜番茄樱桃对花人工喷花点花喷枪
图片尺寸800x800
授粉枪新款果树花粉授粉器 桃树梨树猕猴桃西红柿番茄杆式点花授粉器
图片尺寸750x632
0/套 番茄喷花器授粉器点花器西红柿喷雾器 樱桃西瓜黄瓜点花喷花器
图片尺寸240x240