角码安装示意图

外墙安装干挂铝塑板铝单板配件铝合金角码直角90度连接件 (20x20)*40*
图片尺寸800x800
昆明新机场航站楼玻璃装饰板设计与施工-安装副龙骨用钢角码设计示意
图片尺寸760x570
将t型螺栓穿过角件(角码)与法兰螺母连接安装方法:135度挤压角件表面
图片尺寸598x282
下柜中柜安装方式方法使用角码固定在侧板上拉手安装图解台面下沿
图片尺寸1080x1440
厂家直供石材瓷砖幕墙金属干挂件镀锌角码 不锈钢角码 来图定做
图片尺寸750x575
销钉角码门窗拼装工艺图
图片尺寸800x481
加厚铁角码角铁l型三角支架固定木板桌椅90度直角家具五金
图片尺寸576x576
分左右橱柜铁吊码三牙暗装橱柜隐形吊码镀锌隐藏式吊码可调节
图片尺寸750x1347
现货供应33高角码 门窗活动角码 门窗铝角码 家具五金配件加工
图片尺寸558x719
安装阳光房,省时又省力90.
图片尺寸765x1020
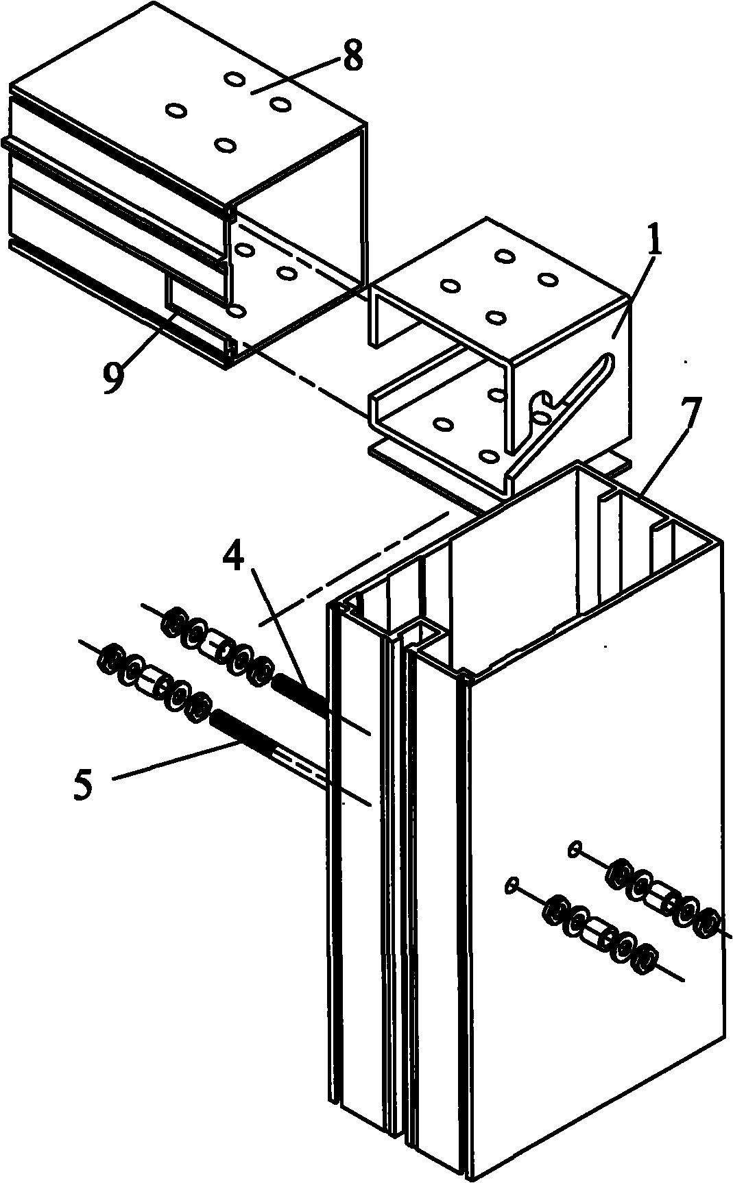
横梁安装角码-爱企查
图片尺寸1069x1726
氟碳铝单板角码详细结构
图片尺寸700x355
单双排钢质隐藏吊码 橱柜家具吊码挂码 分左右/不分左右吊码图片_12
图片尺寸750x1670
铬角码安装图
图片尺寸790x541
l型铝型材角码室内外幕墙吊顶安装件铝板固定连接件结构干挂铝片
图片尺寸2000x924
编码器安装解析
图片尺寸795x355
角铁支架定做不锈钢固定器连接件直角角码黑色拼接橱柜加固铁片
图片尺寸750x761
您好欢迎光临青州市博雅电子商贸有限公司
图片尺寸790x1095
橱柜吊码隐形吊码重型金属隐藏式挂码厨房柜子吊件壁柜安装五金件
图片尺寸750x604
装修材料 #家居建材 #安装组合角#角码 38×25内置直 - 抖音
图片尺寸1440x1080