角钢塔基础图纸

150吨冷却塔参数
图片尺寸3510x2467
分享110kv铁塔cad图纸资料下载
图片尺寸560x409
某地区60米通信角钢铁塔施工图纸
图片尺寸610x861
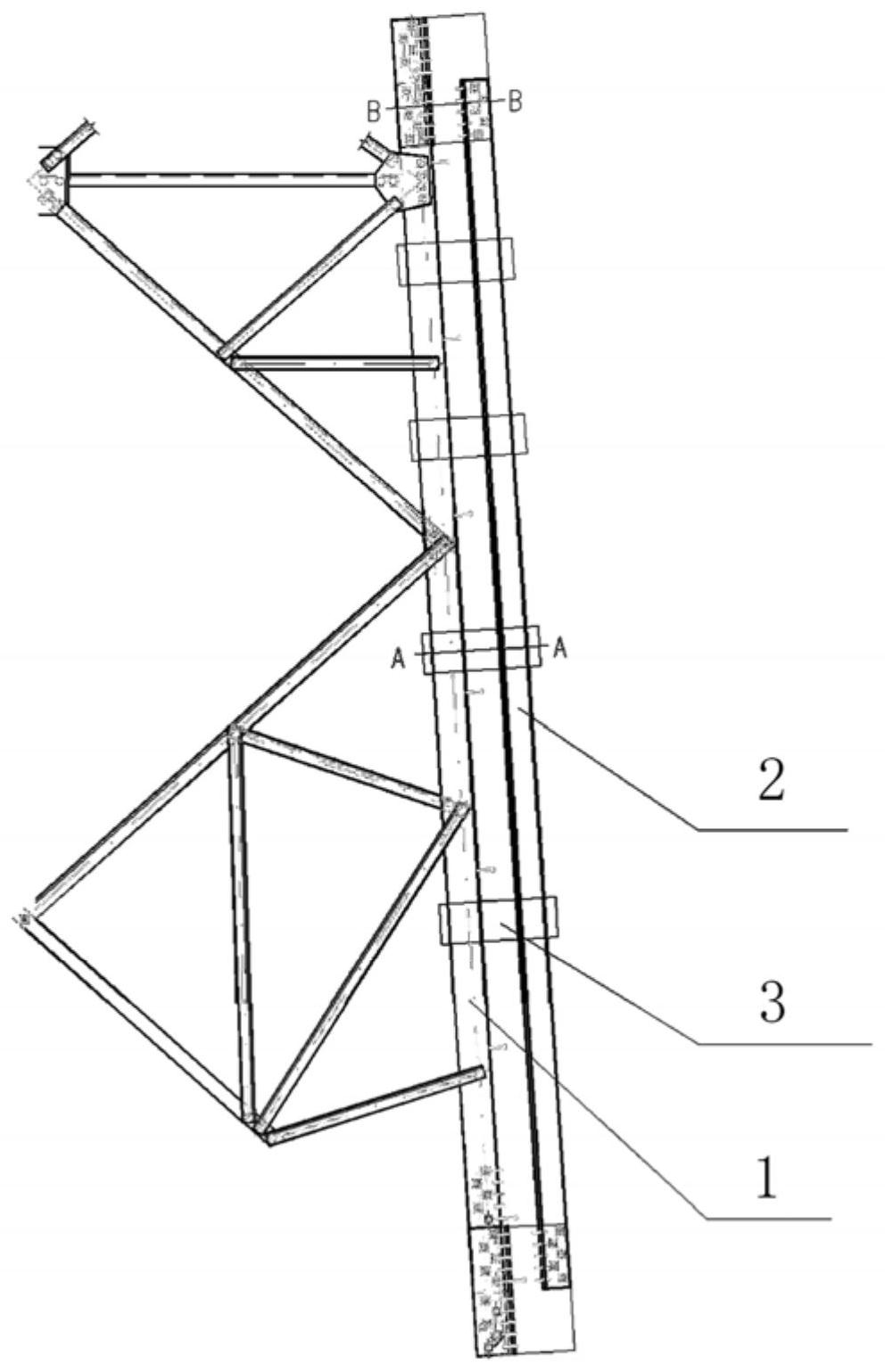
一种通信角钢塔的制作方法
图片尺寸1000x848
内容简介某7713,7716 角钢塔 基础节点构造详图 共两张图纸
图片尺寸889x629
某地20米高角钢避雷针塔全套结构施工图
图片尺寸610x861
qtz40塔吊标准节基础图
图片尺寸1796x1260
线路铁塔基础设计图纸(钢结构)
图片尺寸1440x1020
qtz50塔吊基础图
图片尺寸1197x840
一种桁架式通信用三角拉线塔-爱企查
图片尺寸1674x2514
图纸张数:14张 设计时间:2011 本图为15米角钢组合塔
图片尺寸1200x900
甘肃知名酒店塔吊基础施工方案
图片尺寸1200x900
塔吊基础图
图片尺寸550x720
20米镀锌角钢避雷针图集15d501gfl2避雷针塔及基础图
图片尺寸920x768
塔吊基础图qtz40
图片尺寸1706x2405
某110kv耐张转角塔基础施工图
图片尺寸560x409
某地区60米通信角钢铁塔施工图纸
图片尺寸610x861
西安某40m角钢塔基础设计整套图图片3
图片尺寸610x432
某地35607710-3560jj2角钢塔结构施工图
图片尺寸610x432
一种输电角钢塔及输电角钢塔主材的加固方法-爱企查
图片尺寸992x1539