角钢架子平面图

cn107659257a_矩阵光伏发电平台在审
图片尺寸1689x1195
角钢衣架
图片尺寸655x576
轻型金属货架 中型仓储仓库货架 定制轻型货架 轻型角钢货架
图片尺寸750x798
轻型角钢货架
图片尺寸600x489
角钢是歪的
图片尺寸1493x921
角钢支架(二)30
图片尺寸800x500
适用于货架家用仓库阳台置物落地架多层小超市储物展示架角钢铁架子
图片尺寸790x1266
上海现货销售唐山产角钢批发幕墙用三角支架q235b等边黑角铁
图片尺寸425x481
cad 角钢焊架子图
图片尺寸764x415
如图,搭建这样一角铁支撑架需要多少钱
图片尺寸943x591
角钢支架电缆沟电缆支架12d2015p62支架1支架2支架3支架4
图片尺寸917x641
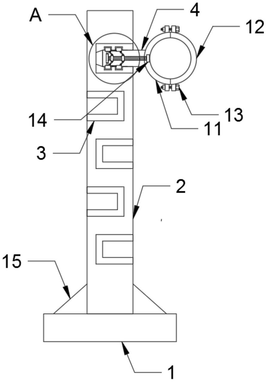
一种通用型角钢电力铁塔电缆支架结构
图片尺寸892x1277
zd6角钢安装图
图片尺寸1660x1193
一种存放包括角钢及圆管在内的长物料自动移动的架子
图片尺寸744x800
角钢货架 角钢货架优点 优质苏州货架
图片尺寸450x460
一种角钢塔用电缆支架结构的制作方法
图片尺寸1000x524![[分享]角钢桁架施工图资料下载](https://i.ecywang.com/upload/1/img1.baidu.com/it/u=152896412,2815962639&fm=253&fmt=auto&app=138&f=PNG?w=656&h=500)
[分享]角钢桁架施工图资料下载
图片尺寸760x579
一种装修工程用施工脚手架
图片尺寸1521x1227
一种角钢支架的制作方法与工艺
图片尺寸1000x626
厂家批发仓储货架 中型货架展示架货架 储物架角钢货架
图片尺寸750x514