角铁图纸

上海现货销售唐山产角钢批发幕墙用三角支架q235b等边黑角铁
图片尺寸425x481
夹具零件图-固定角铁.pdf
图片尺寸800x1132
收藏 型号:请根据参数选型 下载相关图纸
图片尺寸950x300
夹具角铁pdf
图片尺寸800x568
采纳答案 这是机械制图,角铁的长度表达太容易了.
图片尺寸312x234
浙江厂家供应镀锌角钢 不等边角钢 大规格冲孔角钢加工定制批发
图片尺寸1002x911
收藏 型号:请根据参数选型 下载相关图纸
图片尺寸950x360
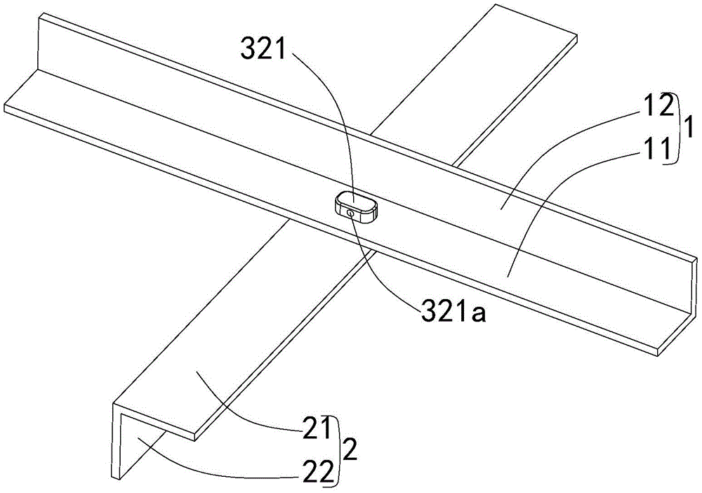
一种角铁交叉连接结构
图片尺寸1000x702
角铁——a1.dwg
图片尺寸1200x800
机械制图的角铁怎么画
图片尺寸972x727
cn206816613u_一种耐腐蚀角铁有效
图片尺寸975x1000
一折镀锌角码 90度直角_冷镀锌角码立柱梁l型直角固定小角铁90度幕墙
图片尺寸571x777
用角铁加工这个角件,用铣床好加工吗?
图片尺寸696x664
请问角钢的尺寸是如何标注的?
图片尺寸737x689
墙壁式旋臂起重机结构设计与分析【含9张cad图纸和文档全套】【lb6】
图片尺寸1200x800
高精度磨具推车全套图纸
图片尺寸820x1159
(高分救助)请问角铁在图纸上如何表示?
图片尺寸573x459
【终稿全套】qtz40塔式起重机总体及平衡臂设计097【26张cad图纸 文档
图片尺寸1200x800
角铁
图片尺寸606x841
计算推算计数设备的制造及其应用技术
图片尺寸994x1000