计数器平面图

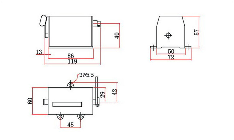
批发销售转动型计数器 75拉动型计数器 累加计数器
图片尺寸750x450
新型电子计数器-爱企查
图片尺寸1616x1456
jl055b型五位拉动计数器
图片尺寸400x612
批发销售转动型计数器 75拉动型计数器 累加计数器
图片尺寸750x450
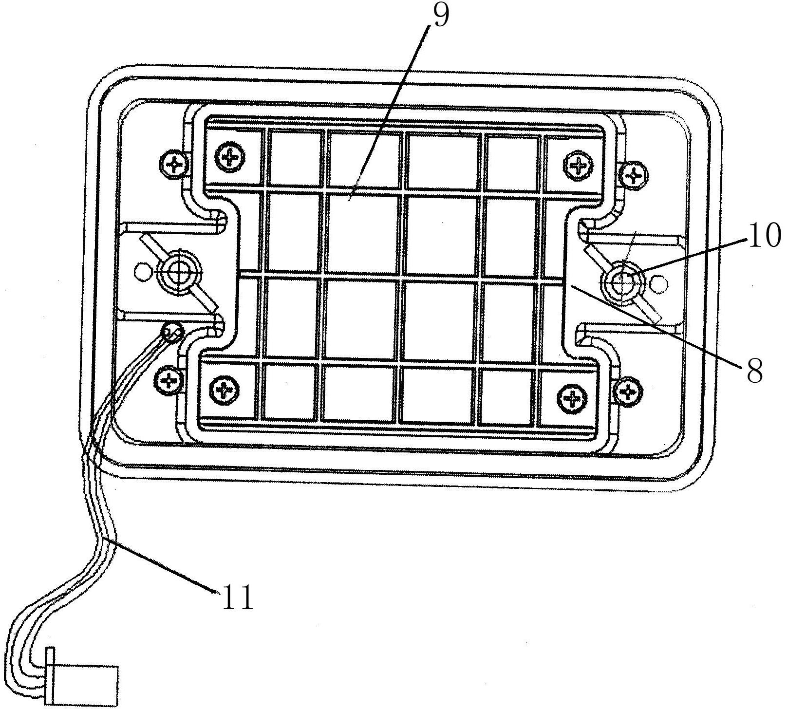
一种模块化教学用计数器-爱企查
图片尺寸1615x1376
厂家直销d67-f计数器 5位数计数器 机械冲床计数
图片尺寸525x306
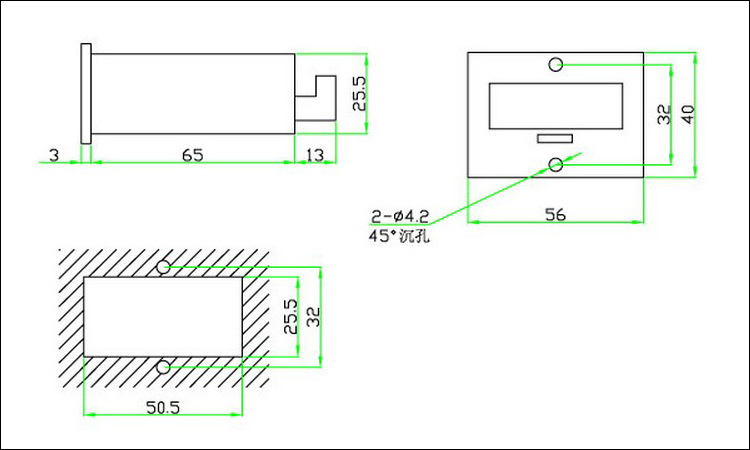
jl144-b型机械计数器
图片尺寸400x601
一种鱼线轮计数器-爱企查
图片尺寸1750x1388
请在下边的计数器上画出并写出这个数.-组卷网
图片尺寸2080x900
2位十进制可加减计数器电路doc1页
图片尺寸792x1120
计数器
图片尺寸589x570
供应jdm11五位计数器 低价六位计数器 led显示计数器
图片尺寸750x450
如果一个for循环嵌套在另一个循环中两个循环的计数器变量应该是不一
图片尺寸670x391
【厂家直销】电子计数器计米器【杭州日升电】智能计数器
图片尺寸554x290
计数器 kcm-70a-c
图片尺寸636x341
点钞机双显示计数器-爱企查
图片尺寸2336x1792
电子式计数器 电磁计数器0-9999次 csk4-nkw
图片尺寸497x382
数字时钟计数器
图片尺寸418x481
【mm74c90 61 mm74c93 4位十进制计数器61 4位二进制计数器1987年
图片尺寸850x1100
一种菌落计数器-爱企查
图片尺寸1937x1511