试衣间 平面图

一种具有自动匹配服务功能的智能试衣间的制作方法
图片尺寸373x443
①试衣间 fitting room
图片尺寸1280x1449
【结构热议话题】优衣库试衣间引爆全城,结构设计师来找茬!(附种子)
图片尺寸587x445
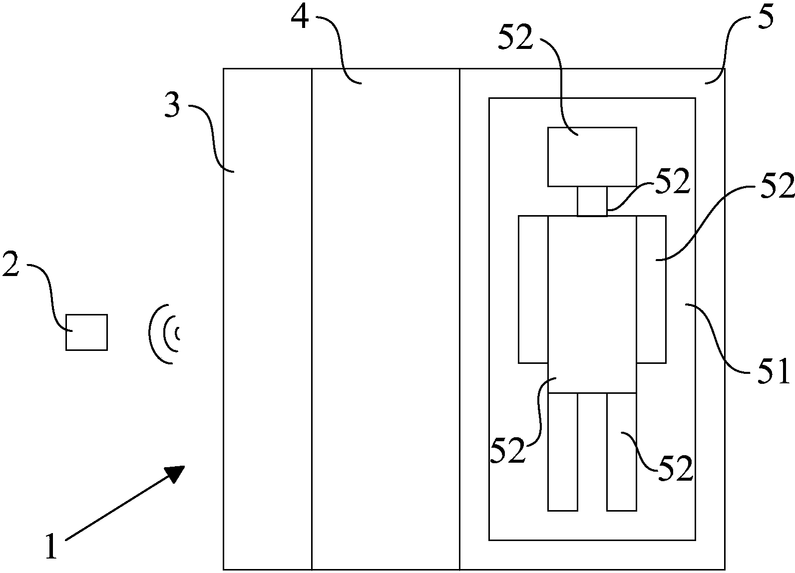
一种智能试衣间的制作方法
图片尺寸1000x427
【图】优衣库三里屯试衣间改造方案_1_深圳论坛_爱卡汽车
图片尺寸897x690
一种适合老人用试衣间
图片尺寸1000x808
亚马逊正为ar试衣间申请新专利
图片尺寸650x433
试衣间pk衣帽间,地产人,用户需求在这里啊!
图片尺寸600x528
cn/su/7314.html target=_blank class=infotextkey>试衣间 /a>详图.
图片尺寸1031x825
cn201195954y_投币式试衣间失效
图片尺寸1567x1328
【结构热议话题】优衣库试衣间引爆全城,结构设计师来找茬!(附种子)
图片尺寸431x351
求大神帮忙看看这种户型怎么改,想弄一个试衣间.
图片尺寸600x461
试衣间
图片尺寸560x420
cn107749022a_移动端试衣间在审
图片尺寸1592x1148
【结构热议话题】优衣库试衣间引爆全城,结构设计师来找茬!(附种子)
图片尺寸760x480
6015商场临时可移动试衣间 门帘轨道服装店落地式户外更换衣室
图片尺寸750x1249
别墅步入式衣帽间尺寸格局平面图
图片尺寸1080x628
苏宁严选 苏宁放心购商场临时移动试衣间服装店落地便携式可折叠简易
图片尺寸750x1048
一种移动式试衣间的制作方法
图片尺寸431x590
2,休息区设试衣间附近方便陪同等候.
图片尺寸4961x3508