诱虫器

按照"进虫口(绿色) 接虫桶(透明色) 上盖(黄色)"的顺序组装诱捕器.
图片尺寸514x515
英格尔农业科技有限公司是昆虫性诱剂,诱芯,诱捕器的优良生产制造厂家
图片尺寸800x600
夜蛾诱捕器
图片尺寸900x500
二化螟诱捕器
图片尺寸829x829
草地贪夜蛾诱芯诱捕器使用方法
图片尺寸640x640
产品优势景洪水田害虫诱捕器款式新颖
图片尺寸600x498
林业害虫 美国白蛾诱芯诱捕器 信息素引诱剂捕虫器 进口诱芯
图片尺寸300x300
中捷四方夜蛾诱捕器斜纹夜蛾诱捕器16孔诱蛾器农资器械工具诱虫器
图片尺寸800x800
甲虫诱捕器,好用!
图片尺寸640x480
专业生产昆虫信息素性诱芯诱捕器
图片尺寸4096x3072
诱捕飞蛾果园夜蛾诱灭冥娥神器陷阱夜娥杀虫虫害性诱剂
图片尺寸800x800
神捕诱捕器昆虫信息素二化螟诱心捕蝇笼飞蛾户外畜牧养殖
图片尺寸1920x1440
桶形诱捕器 美国白蛾诱捕器 蛾类诱捕器
图片尺寸1080x1440
诱捕器厂家-昆虫信息素光源诱捕器plt-b(搭配透明诱虫板)
图片尺寸549x411
合作草地贪夜蛾专用诱捕器优点
图片尺寸466x400
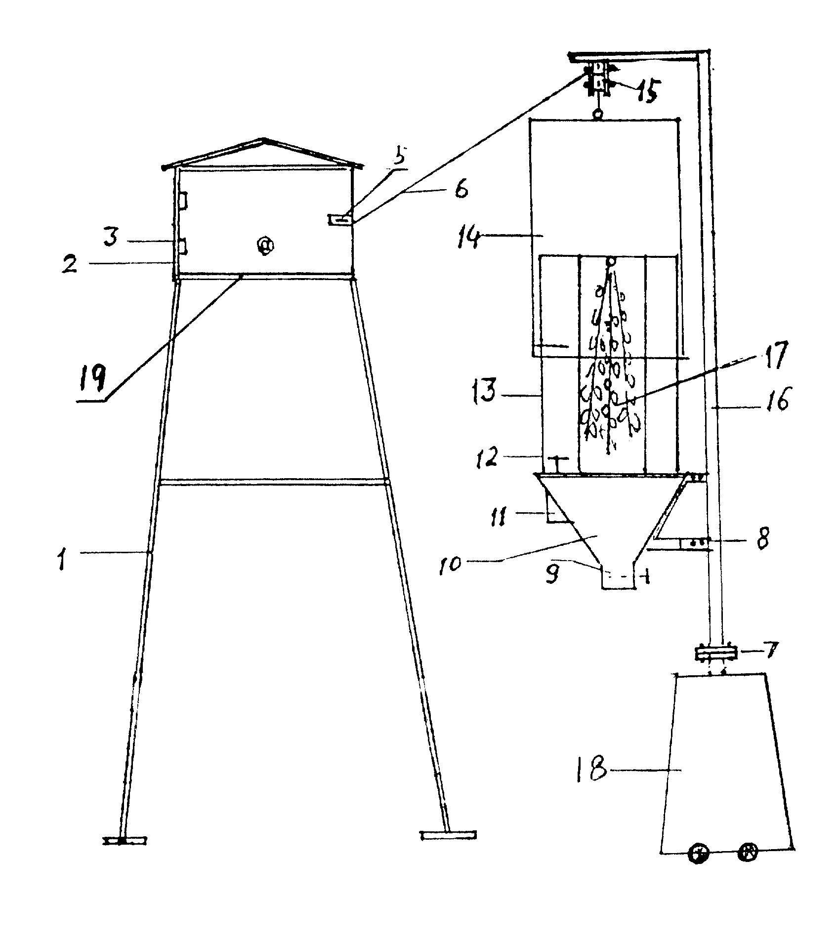
自动诱虫器
图片尺寸1696x1905
棉铃虫诱芯 诱捕器性诱剂 引诱剂 诱虫芯 昆虫信息素 20粒 包邮
图片尺寸300x300
厂家新款蜜蜂诱捕器 户外诱虫器 上下结构不漏水捕蜂器
图片尺寸1000x1000
诱捕器
图片尺寸604x674
跨境新款黄蜂捕捉器 果蝇诱捕器户外太阳能led昆虫陷阱捕蜂苍蝇器
图片尺寸790x1217