诱鱼灯原理

诱鱼灯
图片尺寸569x267
厂家直销钓鱼灯捕鱼灯鱿鱼灯高亮集鱼灯led水下诱鱼灯
图片尺寸750x750
一种用于远洋捕捞的led诱鱼灯的制作方法
图片尺寸438x631
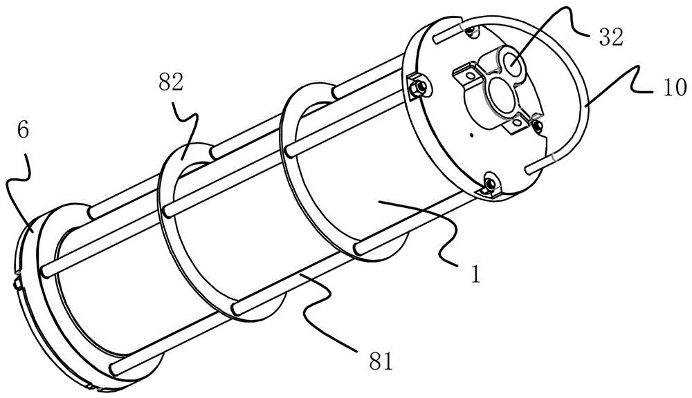
一种深海诱鱼灯
图片尺寸1000x576
诱鱼灯聚鱼灯200w12v黄光水下诱鱼灯集鱼灯垂钓夜钓筏钓灯深水钓鱼
图片尺寸990x871
一种深海诱鱼灯的制作方法
图片尺寸1000x576
11cm诱鱼灯钓鱼灯深海湖河夜钓led聚鱼灯鱼笼灯虾笼灯常亮手动款
图片尺寸750x470
2022新款水下诱鱼灯聚鱼灯200w筏钓翘嘴冰钓公鱼鱿鱼水下诱鱼聚鱼灯集
图片尺寸750x1206
海上2000w船用镇流器大功率集鱼灯镇流器诱鱼灯专用镇流安定器
图片尺寸790x976
水下12vled钓鱼夜钓垂钓灯诱鱼灯集鱼灯捕鱼钓鱼灯
图片尺寸515x515
带鱼诱鱼灯的制作方法
图片尺寸1000x811
工厂直销 led捕鱼灯水上灯 船上灯集鱼灯高亮诱鱼灯
图片尺寸750x750
鱼晚上睡不睡觉,我看夜钓很多小鱼(夜钓诱鱼灯真的能诱来鱼吗)_经验
图片尺寸600x365
大功率捕鱼灯泡空中水下防水诱鱼灯集鱼灯鱿鱼钓鱼灯
图片尺寸1080x1920
水下诱鱼灯科立盾深水1000w调光水下聚鱿鱼灯诱鱼灯捕集鱼灯海钓垂钓
图片尺寸750x1329
2022新款三友筏钓翘嘴冰钓公鱼鱿鱼水下诱鱼聚鱼灯集鱼钓鱼灯黄光超亮
图片尺寸750x1235
金卤灯防爆集鱼灯捕鱼灯诱鱼灯bt230-2000w-220v-e40集鱼灯
图片尺寸1000x1000
大功率捕鱼灯泡空中水下防水诱鱼灯集鱼灯鱿鱼钓鱼灯
图片尺寸3448x2240
智能型养殖区渔具/渔网/浮标:船用品,鱼笼渔具,金仓鱼延绳渔具,黄铜
图片尺寸1706x1280
渔船灯电子镇流器集渔灯镇流器船用诱鱼灯镇流器捕渔灯
图片尺寸594x493