调心滚子轴承简图

一种凹球面调心滚子轴承的制作方法
图片尺寸452x552
可调整游隙的调心滚子轴承
图片尺寸1939x1742
调心滚子轴承图纸20000ca-w33.06
图片尺寸834x1196
fag推力调心滚子轴承图纸
图片尺寸422x230
22244c船舶轴承22244 供应船舶机械专用调心滚子轴承22244cc/w33
图片尺寸1240x1754
一种抗振动调心滚子轴承
图片尺寸1959x1859
一种低速重载调心径向滑动轴承及其调整方法_cn201910351404.8_知雀网
图片尺寸1000x949
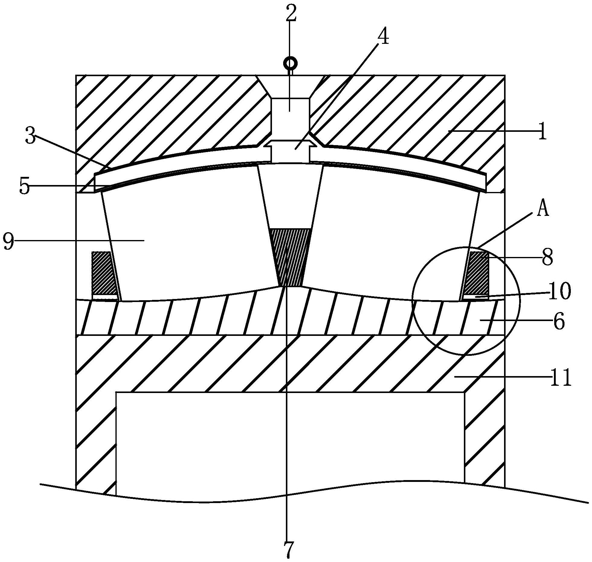
一种自密封调心滚子轴承的制作方法
图片尺寸731x1000
一种高精度的密封型调心滚子轴承的制作方法
图片尺寸429x429
一种汽车组件用的调心球轴承的制作方法
图片尺寸937x1000
轧机减速机用大型调心滚子轴承的设计与应用
图片尺寸687x429
高速运转调心滚子轴承
图片尺寸640x395
调心滚子轴承产生偏载的原因及解决方法
图片尺寸540x419
cn2084126u_一种自调心滑动轴承失效
图片尺寸1792x2221
一种耐高温调心滚子轴承的制作方法
图片尺寸444x433
一种可拆卸两用调心滚子轴承的制作方法
图片尺寸1000x930
分式混合运算20道题fag剖分式调心滚子轴承的性能
图片尺寸705x431
一种宽内圈调心滚子轴承的制作方法
图片尺寸1000x798
调心滚子轴承图纸和参数
图片尺寸394x373
推力调心滚子轴承的结构及特性
图片尺寸491x338