调整垫片怎么画

a4-调整垫片.dwg
图片尺寸1200x800
垫片a4pdf
图片尺寸800x566
小车调整垫片cad图纸
图片尺寸517x723
供应焊接夹具调整垫片
图片尺寸720x348
垫片 零件图
图片尺寸761x594
装标准型弹簧垫圈是不是必须平面的粗糙度要求较高
图片尺寸640x329
316不锈钢垫片异型u型调整插片超薄间隙片304不锈钢垫圈005mm
图片尺寸800x661
3.6综合实例(2)—垫片草图
图片尺寸879x494
商标logo
图片尺寸462x800
不锈钢垫片 铜垫片 橡胶垫片 插片 摆片 u型调整垫片
图片尺寸1080x675
cad垫片平面图绘制过程_命令_圆心_圆角
图片尺寸862x593
jsq-00-02垫片.dwg
图片尺寸1200x800
3孔焊接夹具调整垫片焊接夹具调整垫片e型调试发黑垫片三孔标准垫片三
图片尺寸350x350
a4-垫片.dwg
图片尺寸1200x800
一种耐腐蚀自润滑止推垫片-爱企查
图片尺寸800x452
cad怎么绘制平垫圈图纸?
图片尺寸676x479
紧固件的结构要素画法及标注
图片尺寸640x345
q406 组合件用弹簧垫圈
图片尺寸950x366
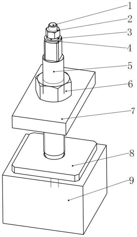
中空防滑垫片以及膨胀螺栓组件的制作方法
图片尺寸443x416
紧固件的结构要素画法及标注
图片尺寸640x509