调节池草图

一种ph调节池的制作方法
图片尺寸1000x803
什么是调节池
图片尺寸1099x454
4 对角线调节池
图片尺寸970x771
调节池的作用
图片尺寸696x564
a1-调节池
图片尺寸808x585
污水处理预处理调节池
图片尺寸610x432
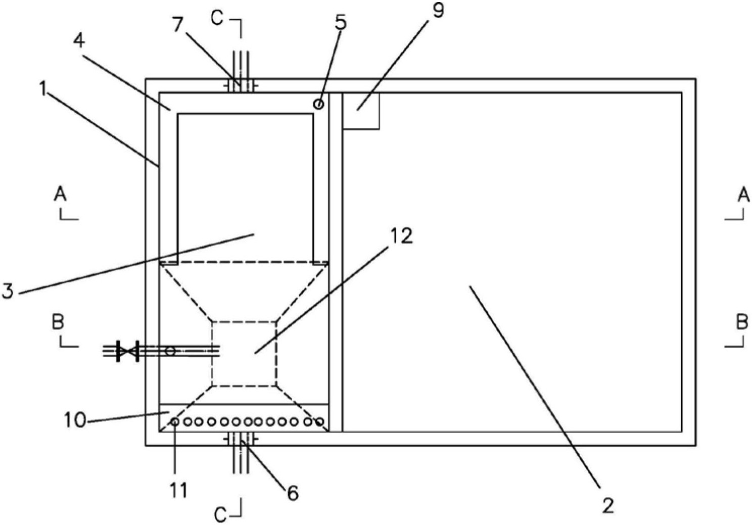
一种工业废水ph调节池
图片尺寸1740x1424
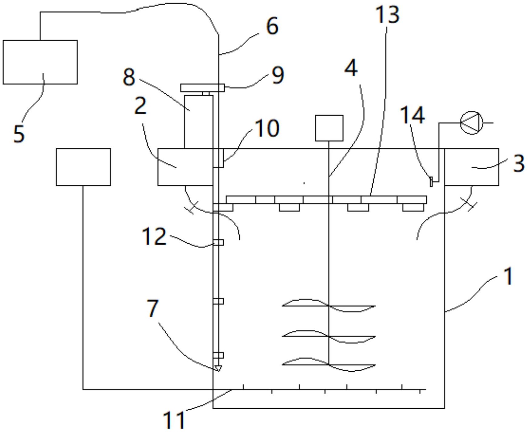
一种ph调节池
图片尺寸2172x1744
用于沼气系统的调节池的制作方法
图片尺寸1000x621
调节池.dwg
图片尺寸1200x800
一种水质调节池的制作方法
图片尺寸1000x760
一种调节池制造技术
图片尺寸406x394
污水处理中调节池的计算方法
图片尺寸619x555
a3-调节池
图片尺寸819x580
某公司设计调节池外形尺寸设计图纸
图片尺寸610x432
一种集成式调节池的制作方法
图片尺寸1000x413![[分享]方形调节池cad资料下载](https://i.ecywang.com/upload/1/img2.baidu.com/it/u=218041363,3785720196&fm=253&fmt=auto&app=138&f=JPEG?w=500&h=357)
[分享]方形调节池cad资料下载
图片尺寸760x543
一种生活污水处理系统的调节池的制作方法
图片尺寸846x1000
水量调节池.
图片尺寸581x245
一种低碳节能型沉淀调节池
图片尺寸1488x1039