调节池cad图 图纸

调节池
图片尺寸970x451
调节池
图片尺寸426x266
超4亿污水项目公示!
图片尺寸1080x866
格栅和筛网,调节池
图片尺寸640x443
格栅和筛网,调节池
图片尺寸640x409
超4亿污水项目公示!
图片尺寸1080x827
格栅和筛网,调节池
图片尺寸615x645
污水重金属含量超标,有哪些可行处理手段?
图片尺寸1444x941
超4亿污水项目公示!
图片尺寸1080x803
调节池提升泵
图片尺寸693x300
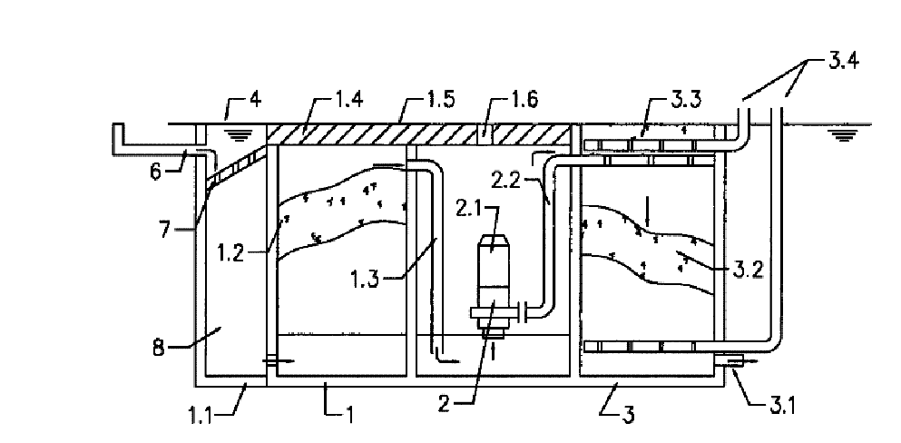
地埋式高效率低运行费生活污水处理成套装置
图片尺寸993x488
污水处理站工艺流程如下图:污水处理工艺为:化粪池→格栅→调节池
图片尺寸930x358
医疗废物分散式污水处理设工艺
图片尺寸2649x909
潍坊华运环保科技有限公司
图片尺寸756x308
5m³/h,设备由格栅井,污水调节池,a/o生物池,二次沉淀池,消毒出水池
图片尺寸815x427
格栅和筛网,调节池
图片尺寸589x320
国家规定医院污水处理以后这样设计!
图片尺寸1080x332
如下图(点击图片查看大图),流程为:接触消毒
图片尺寸1080x544
如下图(点击图片查看大图),流程为:接触消毒
图片尺寸1080x434
需对污水的水量和水质进行调节;酸性污水和碱性污水在调节池内进行混
图片尺寸600x383