调蓄池结构

调节池的作用
图片尺寸696x564
「建证力量」绿投技术!揭秘亚洲最大cso调蓄池群
图片尺寸640x388
雨水调蓄池的制作方法
图片尺寸1000x886
污水调节池的工作原理及调节方式的选择布置
图片尺寸629x399
污水处理预处理调节池
图片尺寸610x432
调节池.dwg
图片尺寸1200x800
p>雨水调蓄池是一种雨水收集设施,主要是把雨水径流的高峰流量暂留池
图片尺寸531x188
cn110439097a_一种与排水泵站合建的雨水调蓄池
图片尺寸1000x860
图2调蓄池结构与基坑围护断网图(单位:结构尺寸:mm,高程m) 【问题】
图片尺寸818x514
河道下的调蓄池的制作方法
图片尺寸1000x535
什么是调节池?
图片尺寸1099x454
一种与排水泵站合建的雨水调蓄池
图片尺寸1000x860
一种用于海绵城市中的蓄水结构
图片尺寸1679x1255
烟厂废水处理站调节池结构图
图片尺寸560x420
cn112267544a_一种带有溢流结构的地下雨水调蓄池在审
图片尺寸1617x2278
调节池剖面施工图
图片尺寸560x420
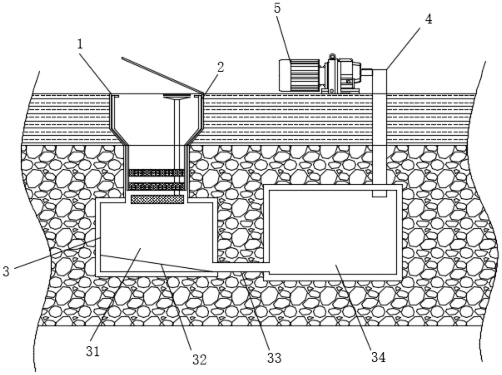
混凝沉淀调蓄池的制作方法
图片尺寸1000x596
2 雨水调蓄池做法
图片尺寸696x570
海绵城市雨水调蓄池图纸
图片尺寸818x488
a3-调节池
图片尺寸819x580