豆芽机结构图片

一种豆芽机的制作方法
图片尺寸499x547
小熊豆芽机使用说明书
图片尺寸381x359
一种自动注水豆芽机的制作方法
图片尺寸1000x1000
一种家用多层豆芽机的制作方法
图片尺寸856x1000
下面是豆浆机的部件结构图,有兴趣可以可以了解一下.
图片尺寸500x493
一种豆芽机的制作方法
图片尺寸874x1000
三,机器结构及工作原理 本机由分离式磨浆机,盛渣桶,盛浆桶,蒸汽包等
图片尺寸1275x1755
牧草播种机技术特点与作业质量优化途径探析
图片尺寸946x877
小型多功能播种机机械结构设计【原创含sw三维及4张cad图带开题报告
图片尺寸800x450
人力式蔬菜播种机
图片尺寸698x504
小熊豆芽机
图片尺寸1080x1080
一种家用智能化无公害豆芽机的制作方法
图片尺寸1000x909
九阳豆浆机精磨星系列dj13b-c86 结构展示
图片尺寸751x526
cn204653248u_一种改良结构的豆芽机有效
图片尺寸680x1000
九阳dj14b-d09全自动豆浆机说明书
图片尺寸441x507
【九阳(joyoung) 豆浆机jyd-p11s81(白)】报价
图片尺寸700x312
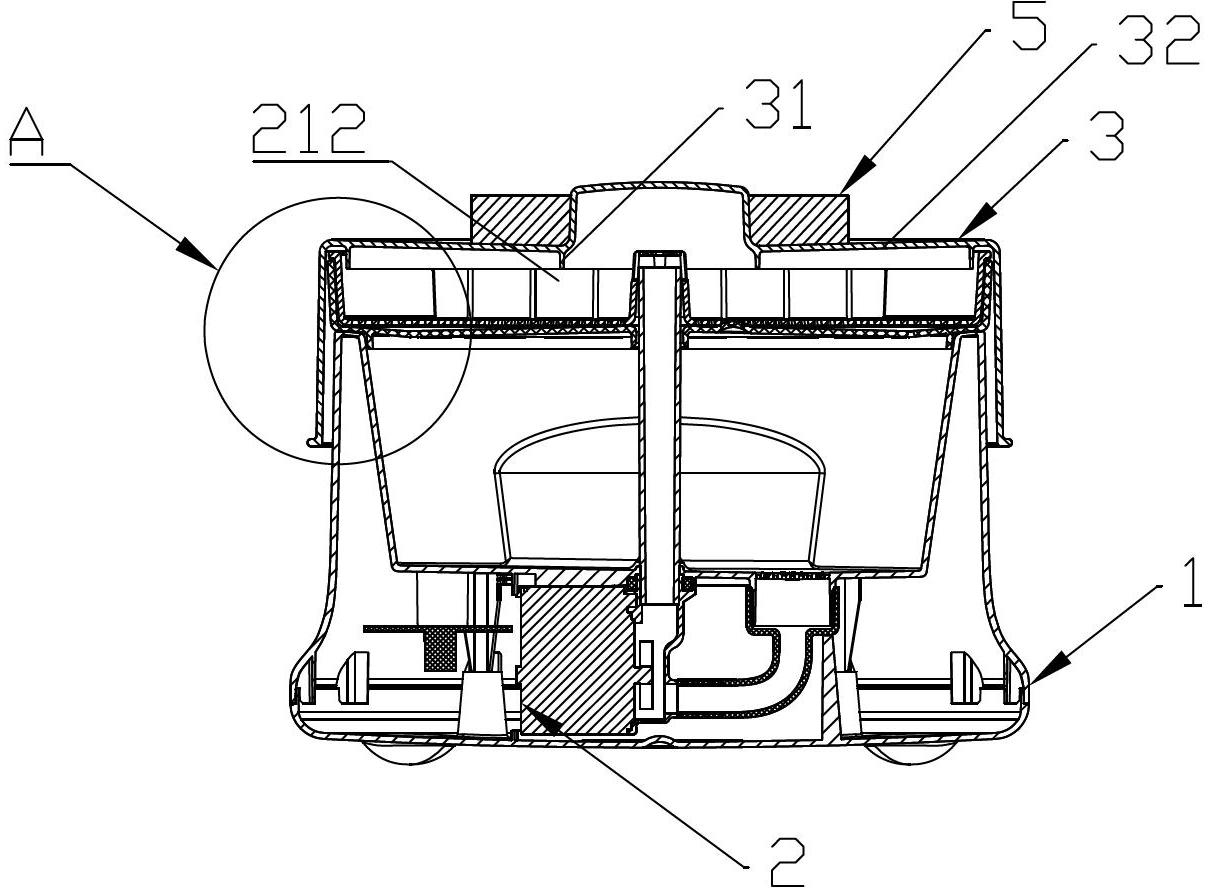
种根据豆芽发育情况调整育苗空间的豆芽机,其结构包括壳体和育苗系统
图片尺寸1208x888
九阳dj12b-d50d植物奶油豆浆机使用说明书
图片尺寸409x471
cn101632428b_带预约功能的豆浆机有效
图片尺寸2022x2214
cn2135992y_全自动家用豆浆机失效
图片尺寸1632x2227