负载示意图

简易直流电子负载
图片尺寸1001x558
电子负载是什么?为什么会需要电子负载?
图片尺寸640x691
柴油发电机非线性负载示意图.png
图片尺寸600x375
radware alteon 服务器负载均衡
图片尺寸500x259
如何选择合适的电子负载
图片尺寸790x709
负载均衡概述及优缺点对比
图片尺寸1650x1160
4开关电源的输出的每一路请视具体情况平均负载.接线示意图如下
图片尺寸1588x1920
负载均衡(转)
图片尺寸644x502
负载均衡是什么
图片尺寸1202x602
下面为其原理示意图:德国ea-elr 9000 hp 系列能量回馈式直流电子负载
图片尺寸452x344
如图为某交流发电机和外接负载的示意图发电机电枢线圈abcd为n20匝的
图片尺寸334x429
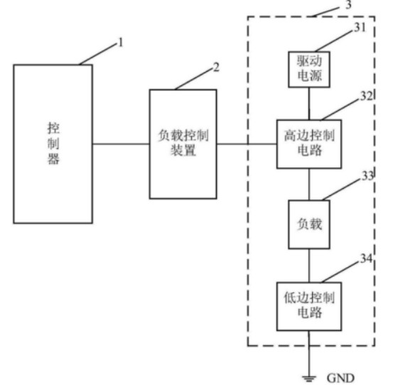
图1 负载控制电路的示意图
图片尺寸591x542
负载均衡是什么
图片尺寸928x532
负载平衡的nat负载均衡概念
图片尺寸418x417
负载均衡概述及优缺点对比
图片尺寸1200x800
712.8输出功率 kw3.02.42.9负载量 %9.27.48.8蓄电池tue may
图片尺寸964x609
负载星形连接示意图
图片尺寸460x311
负载均衡
图片尺寸746x810
负载均衡(转)
图片尺寸712x488
该厂区的电源及交流负载连接示意图如下
图片尺寸683x516