货车车厢结构

某些轻型货车和大多数皮卡采用低底板式货箱,其底板离地高度较小,左右
图片尺寸422x411
一种方便装卸货的货车车厢的制作方法
图片尺寸1000x951
背景技术:目前,普通的厢式货车车厢的高度是固定不变的,从实践中得出
图片尺寸1000x518
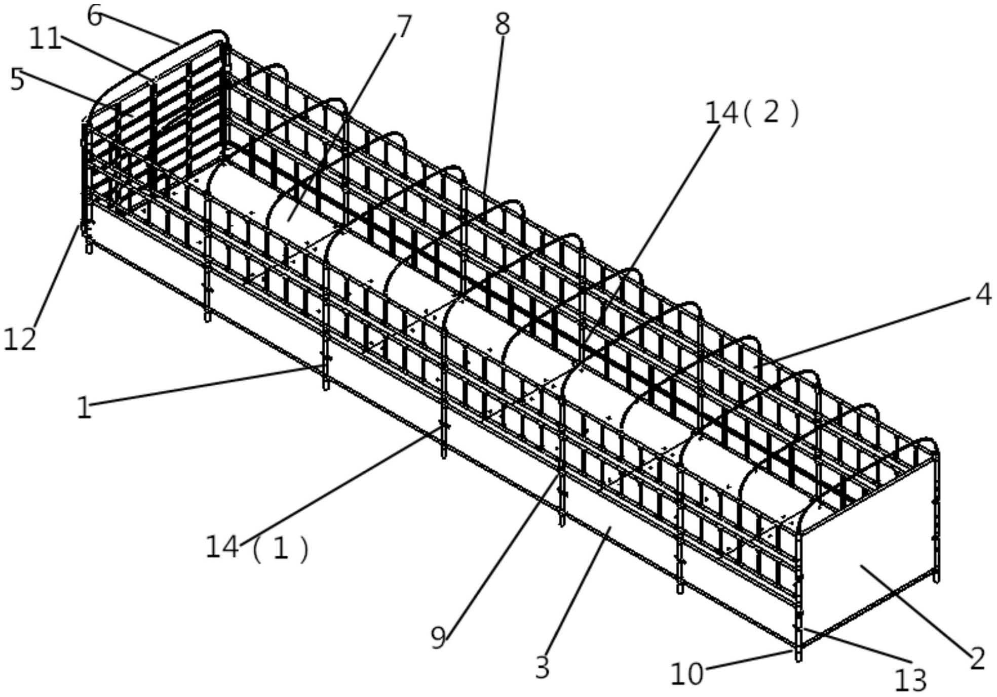
一种货车车厢
图片尺寸1850x720
一种复合材料货车车厢结构
图片尺寸1968x1377
集装箱运输车的分类与结构特点
图片尺寸640x281
一种飞翼式物流运输货车的制作方法
图片尺寸1000x775
货车车厢图纸
图片尺寸820x537
车辆装置的制造及其改造技术
图片尺寸1000x929
货箱及其货车制造技术
图片尺寸1000x729
东莞15吨2吨汽车尾板石碣42米厢式货车尾板二手汽车尾板
图片尺寸750x800
一种车厢容积最大化的载货车结构的制作方法
图片尺寸1000x373
cn205365337u_一种车厢可卸式货车失效
图片尺寸1000x559
一种货车车厢结构的制作方法
图片尺寸404x443
一种厢式车厢组装结构的制作方法
图片尺寸443x360
液压缸结构的卡车后车厢设计模型
图片尺寸780x551
拉货车厢内部结构
图片尺寸820x652
基于箱式货车的车身改装设计奶茶车的设计
图片尺寸820x589
货车通过在nx17bk车底架的基础增设可伸缩式墙体形成,其总体结构如图1
图片尺寸740x399
铝合金翼开启厢式半挂车车厢
图片尺寸1000x370