质谱仪结构简图

10-4 质谱仪的基本结构示意图
图片尺寸856x301
气相色谱质谱联用仪
图片尺寸1125x611
1. 质谱仪的基本结构
图片尺寸578x305
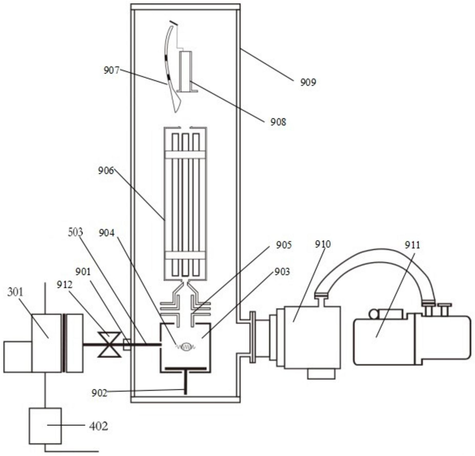
质谱仪
图片尺寸2020x2558
一种质谱仪的制作方法
图片尺寸580x318
一种脂肪族检测用质谱仪的制作方法
图片尺寸884x1000
cn111725047a_质谱仪
图片尺寸1801x2078
cn103367091a_一种惰性气体磁式质谱仪及设计方法失效
图片尺寸1000x418
cn211654766u_小型化质谱仪
图片尺寸1586x1241
质谱仪的主要组成部分
图片尺寸500x155
质谱仪由进样系统,离子源,质量分析器,离子接收器和记录器等组成.
图片尺寸755x342
质谱仪的结构
图片尺寸1080x810
质谱仪原理——质谱分析法
图片尺寸800x500
一种四极杆质谱仪及其使用方法-爱企查
图片尺寸1854x1782
三重四级杆质谱仪制造技术
图片尺寸791x1000
一种在线检测卷烟烟气气溶胶颗粒物化学成分的质谱仪
图片尺寸1739x1571
现在可以通过一台质谱仪来解决蛋白质组学,结构生物学,小分子研究和
图片尺寸2551x1620
质谱计在行星系统与小天体探测中的应用
图片尺寸1575x1239
什么是有机质谱仪的检测器?
图片尺寸269x289
质谱仪可以测定有机化合物分子结构质谱仪的结构如图1所示有机物的
图片尺寸514x190