贴片机吸嘴结构

贴片机机械系统的运行及维护保养smt设备与维护
图片尺寸584x624
一种电路板贴片机用吸嘴结构-爱企查
图片尺寸545x800
一种贴片机吸嘴自动检查机的制作方法
图片尺寸398x443
zp-5/7/9/10/11/12b 实验室高速压片机
图片尺寸800x685
一种贴装路径优化算法及基于此算法的高速贴片机制造技术
图片尺寸1000x731
电子电器
图片尺寸593x640
一种具有双贴合系统的自动贴片机的制作方法
图片尺寸1000x914
适用 雅马哈贴片机吸嘴 nozzle ys24ys12ysm20 301a302a306a309a
图片尺寸750x750
全自动标签贴标机标签平面贴标机
图片尺寸550x517
半自动平面贴标机结构图
图片尺寸753x470
1.本实用新型涉及贴片机领域,具体为一种吸嘴结构.背景技术:2.
图片尺寸444x270
贴片机吸嘴501502503504505506507508可异形定做吸嘴 500吸嘴(整支)
图片尺寸800x800
正邦贴片机吸咀smt贴装通用吸头j5uki精密吸嘴配件506055045
图片尺寸800x800
看看富士贴片x机配件fuji xp14 2 p43 xp 1nozzle吸嘴 smt 贴片机
图片尺寸788x793
贴片机吸嘴
图片尺寸600x342
贴片机主要结构组成
图片尺寸800x800
html关键词:fuji/富士nxtii上一篇:安康富士贴片机xpf-w高速复合型下
图片尺寸700x476
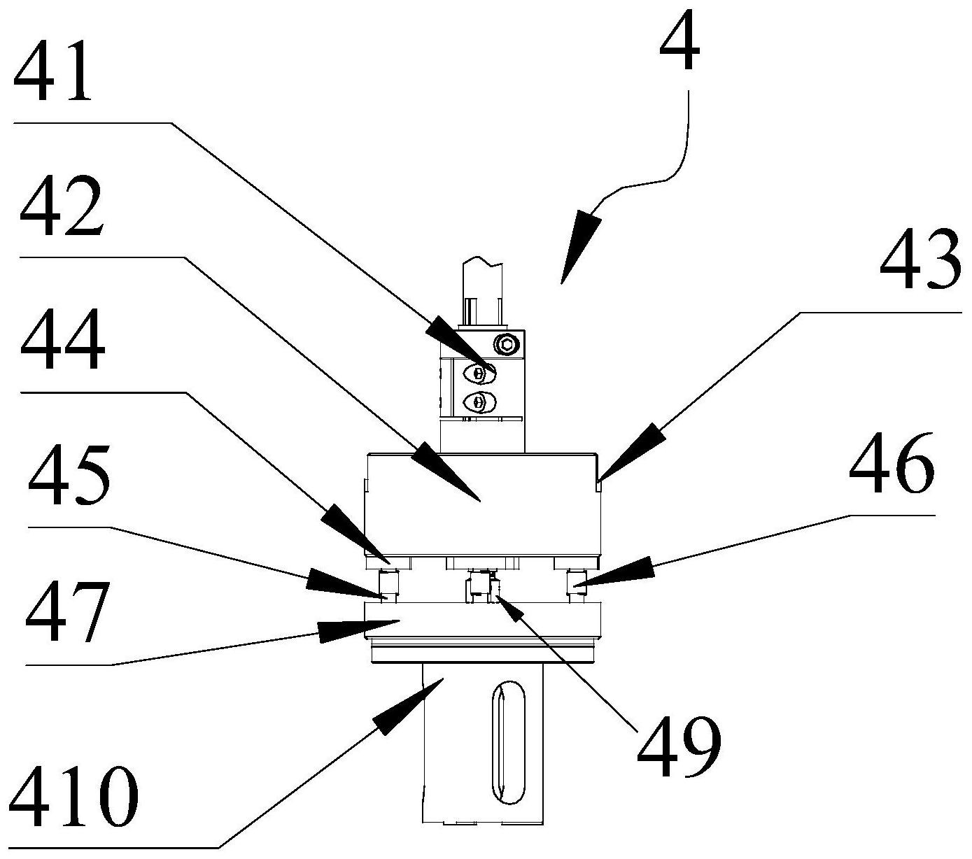
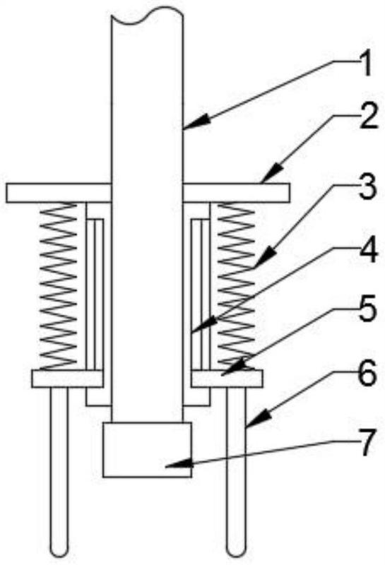
cn113104579a_一种机械手用弹性快换吸嘴机构在审
图片尺寸1389x1228
耐用型真空吸嘴的制作方法
图片尺寸828x1000
三星贴片机吸嘴cn020 cn030 cn040 cn065 cn140 cn220 cn400cn750
图片尺寸2852x2852