贾卡针

穿刺针,八光ptc-b穿刺针,介入穿刺针_八光_ptc1820_价格/说明/厂家
图片尺寸703x662
e18长针贾卡梳
图片尺寸640x472
18e贾卡针块
图片尺寸850x499
浙江厂家供应经编机贾卡针配件
图片尺寸804x402
腹壁缝合穿刺针简介
图片尺寸926x950
e28贾卡梳 剪刀贾卡梳 e16贾卡梳 贾卡梳e14 e18长针贾卡梳 e18贾卡梳
图片尺寸640x488
供应经编机贾卡梳
图片尺寸1920x1920
一种双纯色双针床单贾卡间隔织物及制作方法与流程
图片尺寸706x1000
邓中民及其团队花费了八年时间进行研发探索,成功开发出一款贾卡织针
图片尺寸660x461
rjpc4f贾卡经编机新型提花工艺原理探讨
图片尺寸1508x2133
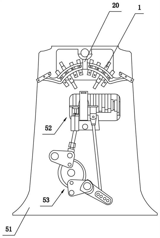
cn106811860b_经编贾卡针块紧锁装置有效
图片尺寸1580x1252
博士贾卡
图片尺寸945x945
一种多梳双针床贾卡经编机的制作方法
图片尺寸705x1000
实用新型一种易维护的贾卡梳栉及使用该贾卡梳栉的经编机申请号:cn
图片尺寸400x273
贾卡装置的经编机,贾卡经编机主要由贾卡装置来带动贾卡针进行编花
图片尺寸676x1000
螺丝刀 上针罗丝刀 大螺丝刀 小螺丝刀 配针车螺丝刀 工业螺丝刀
图片尺寸1440x1920
插针式贾卡梳栉以及使用该梳栉的提花机构和经编机-爱企查
图片尺寸540x800
一种贾卡组合基座的制作方法
图片尺寸422x281
一种压电贾卡梳安装组件的制作方法与工艺
图片尺寸518x343
成圈装置,梳栉装置,传动装置,主要由贾卡装置来带带动贾卡针进行编花
图片尺寸1000x923