超声刀画线图讲解

超声刀分区划线及强度
图片尺寸920x651
超声刀等于烤肉张雨绮你是在认真的胡扯吗
图片尺寸1000x902
无绳超声刀-爱企查
图片尺寸800x604
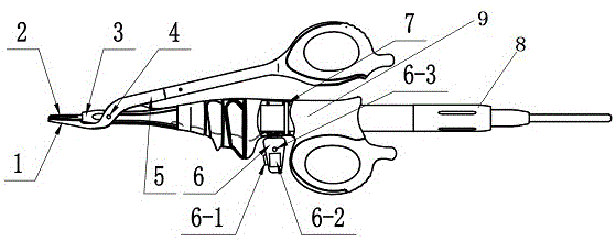
一种无线神经监测剪式超声刀
图片尺寸559x219
一种超声刀的制作方法
图片尺寸443x284
一种超声刀的制作方法
图片尺寸1000x670
一种带有吸烟吸血功能的超声刀的制作方法
图片尺寸444x378
一种可更换刀杆的剪式超声刀的制作方法
图片尺寸443x254
超声刀
图片尺寸500x335
一种带有除烟结构的超声手术刀的制作方法
图片尺寸1000x441
超声刀2超声刀四大生理效应原理及临床特点分析
图片尺寸647x486
一种具有防脱落结构的超声刀
图片尺寸1000x838
可重复利用的超声波手术刀_cn201910752035.3_知雀网
图片尺寸1000x630
摘要附图摘要一种超声切割止血手术系统,其结构包括:超声刀杆(1),传递
图片尺寸1847x1280
可重复使用的超声波手术刀的制作方法
图片尺寸954x1000
美丽鑫达超声刀,hold住年轻线条,get到青春秘密!
图片尺寸395x348
一种用于外科手术的可视超声刀以及手术系统的制作方法
图片尺寸1000x723
可重复利用的超声波手术刀_cn201910752035.3_知雀网
图片尺寸1000x942
无绳超声刀的制作方法
图片尺寸395x412
超声刀和埋线提升哪个效果会更好
图片尺寸395x273