超滤膜结构简图

超滤膜原理图
图片尺寸800x600
超滤膜的介绍
图片尺寸450x293
陶氏sfp 2880,sfp 2660超滤膜运行与清洗
图片尺寸566x365
超滤膜使用说明书
图片尺寸1600x2251
一种新型超滤膜技术介绍
图片尺寸407x245
超滤膜膜丝的断丝判断及修复方法
图片尺寸649x378
超滤与反渗透的区别
图片尺寸541x499
超滤净水器与反渗透净水器有何不同
图片尺寸550x362
超滤(ultrafiltration,uf)技术是介于微滤和纳滤之间,是一种以压力为
图片尺寸640x535
超滤膜v62-4040h
图片尺寸575x353
超滤膜说明书
图片尺寸1153x683
东莞超滤设备,超滤净水设备 中空纤维超滤微滤膜组件的结构与
图片尺寸454x254
小型超滤设备
图片尺寸800x514
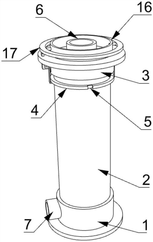
一种便于拆装组合的超滤膜组器
图片尺寸1678x1391
一种浸没式超滤膜组件-爱企查
图片尺寸506x800
一种微生物菌剂生产用超滤膜过滤装置的制作方法
图片尺寸1000x600
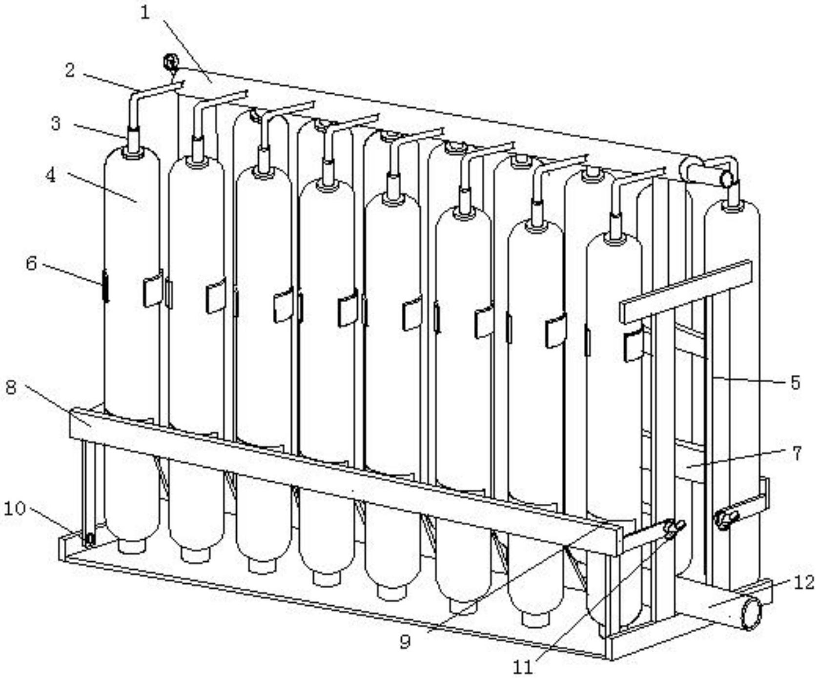
超滤膜系统
图片尺寸830x429
旭化成uhs超滤膜
图片尺寸606x615
供应龙头净水器超滤膜 超滤净水器膜价格
图片尺寸445x280
超滤设计及工程运用
图片尺寸716x501