足球护腿板简笔画

实用新型一种新型护腿板授权我要购买 申请号:cn202020303791.
图片尺寸230x390
一种多功能足球护腿板制造技术
图片尺寸338x376
一种轻便舒适型护腿板的制作方法
图片尺寸885x1000
运动必备运动护膝简笔画
图片尺寸900x600
一种新型护腿板的制作方法
图片尺寸230x390
2021215562168
图片尺寸400x423
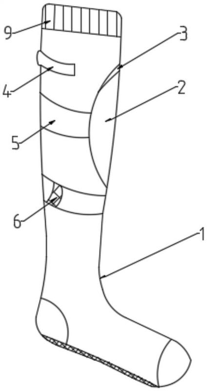
摘要:本实用新型涉及一种具有护腿功能的足球袜,所属袜子技术领域
图片尺寸281x443
一种护腿板
图片尺寸620x1000
一种可拆卸护腿板制造技术,足球护腿板哪种好专利_技高网
图片尺寸835x1000
袜子主体上设有夹层,夹层内设有护腿板,夹层内侧具有缓冲层,袜子主体
图片尺寸424x800
足球护腿板袜套插板护小腿防撞护青少年成人专业比赛护具儿童护胫
图片尺寸1500x2322
一种新型搏击护腿制造技术,足球护腿板哪种好专利_技高网
图片尺寸513x1000
备防护腿插板kelme卡尔美护腿板足球儿童成人比赛护具训练专用装
图片尺寸800x800
足球护腿板套袜训练比赛护胫插板护小腿护具男女成人儿童护腿板红色
图片尺寸750x1011
专业小号足球护腿板mini迷你大师板超轻薄护胫梅西小型训练护脚板
图片尺寸360x360
足球护具护腿板带孔透气基础插片式护腿板成人儿童比赛超轻插板
图片尺寸600x600
儿童护腿板足球护具护小腿绑带板男童成人护腿板比赛训练防撞插板
图片尺寸800x800
儿童护腿板足球护具护小腿绑带板男童成人护腿板比赛训练防撞插板
图片尺寸790x790
足球护腿板简笔画
图片尺寸500x500
护膝简笔画步骤图解教程及图片大全
图片尺寸360x300